Бассейны в детских садах. Законодательная база российской федерации Санпин по содержанию бассейнов
Утв. Приказом Министерства строительства и жилищно-коммунального хозяйства РФ от 26 декабря 2017 г. N 1716/пр
Свод правил СП-310.1325800.2017
"БАССЕЙНЫ ДЛЯ ПЛАВАНИЯ. ПРАВИЛА ПРОЕКТИРОВАНИЯ"
Swimming pools. Design rules
Введен впервые
Введение
Настоящий свод правил разработан с учетом возросших требований к условиям обучения плаванию детей дошкольного и школьного возраста, оздоровительной деятельности среди населения, а также - с учетом изменений правил и регламентов соревнований по водным видам спорта, требований к параметрам и оборудованию плавательных бассейнов, предназначенных для проведения спортивных мероприятий.
Свод правил обеспечивает соблюдение требований Федеральных законов от 30 декабря 2009 г. N 384-ФЗ "Технический регламент о безопасности зданий и сооружений", от 22 ноября 2009 г. N 261-ФЗ "Об энергосбережении, повышении энергетической эффективности и о внесении изменений в отдельные законодательные акты Российской Федерации", от 22 июля 2008 г. N 123-ФЗ "Технический регламент о требованиях пожарной безопасности".
Свод правил разработан авторским коллективом: ООО "Институт общественных зданий" (руководитель работы - канд. архитектуры Д.А. Рождественский, ответственные исполнители - канд. архитектуры А.М. Гарнец, ст. науч. сотр. Л.В. Сигачева); ОФСОО "Российская ассоциация спортивных сооружений" (д-р психол. наук, В.Б. Мяконьков); ООО "Институт спортивных сооружений" (А.В. Трухан).
1 Область применения
1.1 Настоящий свод правил устанавливает требования к проектированию плавательных бассейнов, предназначенных для приучения к воде детей дошкольного возраста, обучения плаванию, учебных занятий школьников, физкультурно-оздоровительных занятий граждан, для проведения спортивных мероприятий.
1.2 Настоящий свод правил распространяется на проектирование вновь строящихся и реконструируемых зданий, сооружений и помещений бассейнов независимо от их формы собственности.
2 Нормативные ссылки
В настоящем своде правил использованы нормативные ссылки на следующие документы:
ГОСТ Р 53491.1-2009 Бассейны. Подготовка воды. Часть 1. Общие требования
ГОСТ Р 53491.2-2012 Бассейны. Подготовка воды. Часть 2. Требования безопасности
СП 1.13130.2009 Системы противопожарной эвакуации. Эвакуационные пути и выходы (с изменением N 1)
СП 3.13130.2009 Системы противопожарной защиты. Система оповещения и управления эвакуацией людей при пожаре. Требования пожарной безопасности
СП 5.13130.2009 Системы противопожарной защиты. Установки пожарной сигнализации и пожаротушения автоматические. Нормы и правила проектирования (с изменением N 1)
СП 28.13330.2017 "СНиП 2.03.11-85 Защита строительных конструкций от коррозии"
СП 30.13330.2016 "СНиП 2.04.01-85* Внутренний водопровод и канализация зданий"
СП 42.13330.2016 "СНиП 2.07.01-89* Градостроительство. Планировка и застройка городских и сельских поселений"
СП 51.13330.2011 "СНиП 23-03-2003 Защита от шума" (с изменением N 1)
СП 52.13330.2016 "СНиП 23-05-95* Естественное и искусственное освещение"
СП 59.13330.2016 "СНиП 35-01-2001 Доступность зданий и сооружений для маломобильных групп населения"
СП 60.13330.2016 "СНиП 41-01-2003 Отопление, вентиляция и кондиционирование"
СП 64.13330.2017 "СНиП II-25-80 Деревянные конструкции"
СП 113.13330.2016 "СНиП 21-02-99* Стоянки автомобилей"
СП 118.13330.2012 "СНиП 31-06-2009* Общественные здания и сооружения" (с изменениями N 1, N 2)
СП 132.13330.2011 Обеспечение антитеррористической защищенности зданий и сооружений. Общие требования проектирования
СП 133.13330.2012 Сети проводного радиовещания в зданиях и сооружениях (с изменением N 1)
СП 136.13330.2012 Здания и сооружения. Общие положения проектирования с учетом доступности для маломобильных групп населения (с изменением N 1)
СанПиН 2.1.4.1074-01 Питьевая вода. Гигиенические требования к качеству воды централизованных систем питьевого водоснабжения. Контроль качества. Гигиенические требования к обеспечению безопасности систем горячего водоснабжения
СанПиН 2.2.1/2.1.1.1076-01 Гигиенические требования к инсоляции и солнцезащите помещений жилых и общественных зданий и территорий
СанПиН 2.2.1/2.1.1.1278-03 Гигиенические требования к естественному, искусственному и совмещенному освещению жилых и общественных зданий
СанПиН 2.1.2.1188-03 Плавательные бассейны. Гигиенические требования к устройству, эксплуатации и качеству воды. Контроль качества
Примечание - При пользовании настоящим сводом правил целесообразно проверить действие ссылочных документов в информационной системе общего пользования - на официальном сайте федерального органа исполнительной власти в сфере стандартизации в сети Интернет или по ежегодному информационному указателю "Национальные стандарты", который опубликован по состоянию на 1 января текущего года, и по выпускам ежемесячного информационного указателя "Национальные стандарты" за текущий год. Если заменен ссылочный документ, на который дана недатированная ссылка, то рекомендуется использовать действующую версию этого документа с учетом всех внесенных в данную версию изменений. Если заменен ссылочный документ, на который дана датированная ссылка, то рекомендуется использовать версию этого документа с указанным выше годом утверждения (принятия). Если после утверждения настоящего свода правил в ссылочный документ, на который дана датированная ссылка, внесено изменение, затрагивающее положение на которое дана ссылка, то это положение рекомендуется применять без учета данного изменения. Если ссылочный документ отменен без замены, то положение, в котором дана ссылка на него, рекомендуется применять в части, не затрагивающей эту ссылку. Сведения о действии сводов правил целесообразно проверить в Федеральном информационном фонде стандартов.
3 Термины и определения
В настоящем своде правил использованы следующие термины с соответствующими определениями:
3.1 VVIP-зона: Полностью автономная территория (пространство), имеющая ограниченный доступ, отдельное обслуживание и эксклюзивный набор услуг, выделенную зону зрительских мест в наиболее комфортной части трибуны, обеспечивающей наилучший обзор спортивного мероприятия, предназначенная для специальных гостей, с местами и дополнительными помещениями повышенной комфортности и безопасности.
3.2 VIP-зона: Выделенная зона зрительских мест и дополнительных помещений повышенной комфортности и безопасности с дополнительным набором услуг.
3.3 всероссийский реестр объектов спорта: Реестр, формируемый в целях систематизации данных о количестве, назначении и состоянии объектов спорта, находящихся на территории Российской Федерации и используемых для проведения физкультурных мероприятий и спортивных мероприятий, включенных в Единый календарный план межрегиональных, всероссийских и международных физкультурных мероприятий и спортивных мероприятий, календарные планы физкультурных мероприятий и спортивных мероприятий субъектов Российской Федерации.
3.4 вспомогательная зона: Набор помещений, обеспечивающих спортивному сооружению сопутствующие функции технического обслуживания и сервисов для различных клиентских групп при проведении спортивных мероприятий.
3.5 зона зрителей: Пространство в непосредственной близости от соревновательной зоны, предназначенное для зрителей спортивных мероприятий, проводимых на спортивном сооружении.
3.6 зона организаторов: Набор помещений, предназначенных для размещения и работы организаторов спортивного мероприятия.
3.7 зона спортивная (спортивная зона): Основное пространство (территория) спортивного сооружения, на котором непосредственно проводится спортивное мероприятие, включающее зону безопасности, отделяющую спортивную зону от зрителей или конструктивных элементов, техническую зону с местами размещения участников и судей, а также оборудования, необходимого для проведения спортивного мероприятия.
3.8 категория спортивного сооружения: Соответствие спортивного сооружения требованиям уровня проводимых спортивных мероприятий (А - международные и всероссийские спортивные мероприятия; В - межрегиональные спортивные мероприятия; С - иные спортивные мероприятия).
3.9 клиентские группы: Разделенные на категории (сегменты) гости, организаторы, участники, зрители, судьи, обслуживающий и технический персонал, а также другие группы находящиеся на спортивном сооружении в период проведения спортивного мероприятия.
3.10 объект спорта: Здание, сооружение или комплекс предназначенный для проведения физкультурных и/или спортивных мероприятий.
3.11 официальные физкультурные мероприятия и спортивные мероприятия: Физкультурные мероприятия и спортивные мероприятия, включенные в Единый календарный план межрегиональных, всероссийских и международных физкультурных мероприятий и спортивных мероприятий, календарные планы физкультурных мероприятий и спортивных мероприятий субъектов Российской Федерации, муниципальных образований.
3.12 система видеоизображения: Табло, куб, другие устройства, отображающие видеоинформацию о спортивном мероприятии.
3.13 система хронометража: Комплект электронной аппаратуры, обеспечивающий точный отсчет времени и фиксацию результатов участников соревнований.
3.14 спортивное оборудование: Устройства, приспособления, снаряды, размещение которых на спортивном сооружении предусмотрено правилами соревнований по видам спорта.
3.15 спортивное сооружение: Инженерно-строительный объект, созданный для проведения физкультурных мероприятий и (или) спортивных мероприятий и имеющий пространственно-территориальные границы.
3.16 спортивное соревнование: Состязание (матч) среди спортсменов или команд спортсменов по различным видам спорта (спортивным дисциплинам) для выявления лучшего участника состязания (матча), проводимое по утвержденному его организатором положению (регламенту).
3.17 спортивные мероприятия: Спортивные соревнования, а также тренировочные мероприятия, включающие в себя теоретическую и организационную части, и другие мероприятия по подготовке к спортивным соревнованиям с участием спортсменов.
3.18 физкультурные мероприятия: Организованные занятия граждан физической культурой.
3.19 функциональная зона: Помещение (пространство), в границах спортивного сооружения, с установленным функциональным назначением и режимом использования.
4 Общие положения
4.1 Плавательные бассейны по своему функциональному назначению подразделяются согласно классификации, с приведенной на рисунке 4.1.
4.2 Бассейны для детей дошкольного возраста предназначены для использования дошкольными образовательными организациями, детскими медицинскими учреждениями, санаториями, лагерями и др.
Учебные бассейны - для использования общеобразовательными организациями на уроках физкультуры, детскими санаториями, лагерями, в местах массового отдыха детей и взрослых.
Оздоровительные бассейны - для размещения и использования в местах проживания и массового отдыха граждан, в составе оздоровительных центров предприятий, в воинских частях, фитнес-клубах, санаториях, домах отдыха и т.п.
4.3 Бассейны для детей дошкольного возраста и учебные бассейны рекомендуется размещать в зданиях дошкольных образовательных и общеобразовательных организаций или пристройках к ним. При этом, бассейны могут использоваться близрасположенными детскими образовательными организациями, что должно учитываться их планировочной структурой.
4.5 Спортивные бассейны предназначены для проведения спортивных мероприятий, соревнований различного уровня, тренировочных мероприятий по подготовке к спортивным соревнованиям.
4.6 Плавательные бассейны при соблюдении СанПиН 2.1.2.1188, могут проектироваться открытыми и закрытыми.
4.7 Общую (полезную и расчетную) площадь, строительный объем, площадь застройки и этажность плавательных бассейнов следует определять по СП 118.13330.
4.8 Здания, сооружения и помещения плавательных бассейнов следует проектировать с учетом доступности для маломобильных групп населения в соответствии с СП 59.13330 и СП 136.13330.
4.9 Обеспечение комплексной безопасности и антитеррористической защищенности бассейнов должны проектировать в соответствии с СП 132.13330.
4.10 Площадь участков отдельно стоящих зданий спортивных бассейнов определяется по СП 42.13330.
4.11 Площадь и число машино-мест на участках бассейнов определяются по СП 42.13330 и СП 113.13330.
4.12 Ширина путей движения по территории бассейнов определяется СП 59.13330.
4.14 По периметру участков открытых бассейнов на полосах шириной не менее 5 м рекомендуется высаживать кустарник и деревья хвойных пород.
5 Параметры и оборудование ванн бассейнов
Физкультурно-оздоровительные бассейны
5.1 Для физкультурно-оздоровительных бассейнов следует применять ванны, размеры и площадь поверхности которых приведены в приложении А.
5.2 В ваннах бассейнов следует предусматривать уклон дна, обеспечивающий возможность выбора подходящей глубины людьми разного роста. Рекомендуемые значения уклона (глубины) приведены в приложении А.
5.3 В ваннах бассейнов также следует предусматривать технологический уклон дна, предназначенный для слива воды, направленный к местам ее выпуска (воронкам). Значение уклона следует принимать в пределах 1% - 4%. Уклон для слива, как правило, направлен перпендикулярно к уклону по 5.2.
5.4 Высоту помещений для размещения бассейнов длиной 10 м и более, измеряемую от поверхности обходной дорожки вокруг бассейна до низа выступающих конструкций, следует принимать не менее 6 м.
5.5 В ваннах бассейнов длиной 16 и 25 м следует предусматривать разделение водной поверхности на дорожки. Ширину дорожки следует принимать равной 2 м. За крайними дорожками до стенок ванны предусматриваются свободные полосы воды шириной 0, 5 м.
5.6 Максимальное число человек, одновременно находящихся в ванне бассейна, следует определять исходя из значений расчетной площади водной поверхности, приведенных в приложении А.

5.8 Борта и решетку физкультурно-оздоровительных бассейнов рекомендуется проектировать как для спортивных бассейнов (рисунок 5.2).


5.9 Решетку переливного желоба следует проектировать заподлицо с поверхностью обходной дорожки (см. 5.21).
5.10 Кромку борта бассейна следует проектировать закругленной.
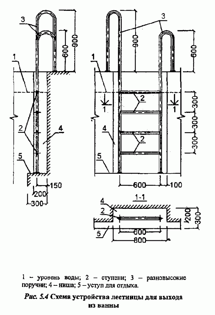
5.11 Вдоль обеих продольных стенок ванн, глубина которых превышает 1, 2 м, предусматривается уступ для отдыха пловцов (см. 5.48).
5.12 Стартовые тумбы для проведения соревнований (рисунок 5.3) предусматриваются для бассейнов длиной 16 и 25 м. Тумбы следует располагать со стороны бассейна глубиной 1, 8 м.






5.13 Для крепления поплавков разметки дорожек в торцевых стенках ванн предусматриваются ниши, предназначенные для размещения в них закладных устройств для крепления поплавков. Закладные устройства не должны выступать из плоскости стенок ванны.
5.14 Для устройства в плавательных бассейнах дорожек в поперечном направлении, закладные устройства могут быть предусмотрены также в продольных стенках бассейна.
5.15 В ваннах бассейнов следует предусматривать лестницы для выхода из воды. В ваннах бассейнов длиной 16 и 25 м - 2 лестницы, расположенные с каждой продольной стороны. Лестницы следует размещать в нишах, заглубляя их по отношению к плоскости стенок ванн. Схема устройства лестницы для входа/выхода из воды приведена на рисунке 5.4. Поручни лестницы выполняются разновысокими для удобного пользования посетителей разного роста. Лестницы располагаются не ближе 3 и не далее 5 м от торцевых стенок бассейна. Предпочтительными следует считать плоские ступени лестницы.

5.16 Системы обновления воды, предусматривающие удаление воды через отверстия в стенках или дне бассейна, для физкультурно-оздоровительных бассейнов не применяются.
5.17 Расстояние между ваннами бассейнов, располагаемыми в одном помещении, следует принимать не менее 5 м.
5.18 На площади пола, по периметру ванн бассейнов, для упражнений и отдыха пловцов, размещения тренеров и судей, персонала, предусматриваются обходные дорожки.
5.19 Ширина обходных дорожек вокруг бассейнов без стартовых тумбочек принимается не менее 1, 5 м от воды у крытых ванн бассейнов и не менее 2 м - у открытых ванн.
5.20 Ширина обходной дорожки, проходящей вдоль стартовых тумбочек, принимается не менее 3 м.
5.21 Поверхность обходной дорожки должна быть нескользкой с уклоном в сторону переливного желоба - 1% - 2%.
5.22 В открытых бассейнах обходную дорожку рекомендуется проектировать с подогревом.
5.23 Условиями доступности для маломобильных групп населения (МГН), обеспечиваются учебные и оздоровительные бассейны, для детей дошкольного возраста принятие специальных мер доступности бассейнов не требуется.
5.24 Доступные для МГН бассейны рекомендуется предусматривать в составе специализированных физкультурно-оздоровительных комплексов для занятий инвалидов и паралимпийцев. Планировочные решения и технические приспособления, обеспечивающие доступность бассейнов, могут предусматриваться при проектировании массовых оздоровительных бассейнов.
5.25 Глубина специализированных оздоровительных бассейнов для МГН должна быть не более 1, 2-1, 4 м.
5.26 Обходные дорожки ванн бассейнов, доступных для МГН, как правило, должны быть расширенными по сравнению со стандартными размерами с учетом их оснащения тактильной полосой (для слепых и слабовидящих) и дополнительным вспомогательным оборудованием.
5.27 По краю ванны, используемой МГН, устанавливается ограждение высотой 1 м. В учебных ваннах для детей - инвалидов с трех сторон устраивается ограждение высотой 0, 65 м.
5.28 У края ванны бассейна на местах входа/выхода на пол наносится предупреждающая цветовая маркировка.
5.29 В мелкой части ванны устанавливается уходящая в воду пологая лестница с подступенками высотой не менее 0, 14 м и проступями высотой не менее 0, 3 м.
5.30 Вместо ножных проходных ванн, у выхода из раздевальных в зал бассейна (см. 6.12), для МГН рекомендуется применять коврики, пропитанные антисептиками.
5.31 По внешней границе обходной дорожки ванн бассейнов для МГН следует предусматривать стационарные скамьи высотой 0, 5 м. На обходной дорожке следует предусматривать места для хранения кресел-колясок.
Вдоль стен бассейна по периметру обходной дорожки рекомендуется устраивать сплошной поручень на высоте 0, 9 м от пола. На рисунке 5.5 приведена схема планировки зала бассейна, используемого маломобильными гражданами. На рисунке 5.6 приведена схема устройства тактильных полос на обходной дорожке ванн.


5.32 Инвалиды на креслах-колясках могут пользоваться обычными физкультурно-оздоровительными бассейнами, при условии применения специальных устройств для опускания/подъема инвалидов в ванну бассейна.
5.33 Рекомендации по устройству ванн для МГН закрытых бассейнов применимы к открытым бассейнам. Если для выхода граждан из открытых бассейнов устраиваются односторонние турникеты, то для инвалидов должен быть предусмотрен соответствующий выход.
Спортивные бассейны
5.34 Для спортивных бассейнов, используемых для одного или нескольких видов спорта, следует применять специализированные и универсальные ванны размерами и пропускной способностью, приведенными в приложении Б.
Для проведения тренировочных занятий допускается применение спортивных ванн других размеров при условии указания данных требований в задании на проектирование.
Параметры соревновательных, тренировочных и вспомогательных зон, установленные правилами (регламентами) спортивных федераций по водным видам спорта, - обязательны как технологические требования к проектированию спортивных сооружений.
Классификация спортивных бассейнов, в зависимости от функционального назначения ванн, приведена на рисунке 4.1.
Бассейны для спортивного плавания
5.35 Размеры залов ванн спортивных бассейнов зависят от длины минимального отрезка дистанции (дорожки) - 25 м и 50 м и числа дорожек для одновременного старта - до 10 (в зависимости от уровня соревнований и требований федерации по виду спорта). Ширина обходной дорожки в зале ванн для спортивного плавания должна быть не менее 2 м по длинной стороне бассейна и не менее 3 м в торцевой части.
Расчет ширины принимается от ограждающей конструкции до края закладных элементов (переливной желоб, крепление трумб и пр.) в чистоте.
Параметры ванн для спортивного плавания приведены на рисунках 5.7, 5.8, 5.9.





5.36 Ширина дорожки для спортивного плавания (рисунок 5.7) принимается 2 500, 00 мм (между осями разделительной дорожки), для бассейнов тренировочного уровня допускается уменьшение ширины до 1 800, 00 мм. Краевые дорожки, для создания равных условий в заплыве, должны быть с волногасящей дорожкой вдоль края ванны на расстоянии 0, 3 м от стенки.
5.37 Высоту залов ванн для спортивного плавания (от поверхности обходной дорожки до низа выступающих конструкций) без мест для зрителей принимают при длине ванны 50 м - не менее 6 м; при длине ванны 25 м - не 5, 36 менее 5, 4 м.
Высоту залов с ваннами для прыжков в воду, а также залов с универсальными ваннами (в пределах прыжковой части) следует принимать по рисунку 5.12.
5.38 Для проведения соревнований в бассейнах категории А ванны длиной 50 м на 8-10 дорожек или 25 м на 8 дорожек необходимо оснащать контактными панелями автоматического фиксирования результатов, что должно быть учтено при проектировании длины ванны - ее следует увеличивать в соответствии с толщиной контактных панелей. Расстояние между панелями, установленными на торцевых стенках, должно быть не менее 50 м или 25 м.
5.39 При проектировании в одном зале ванны для спортивного плавания и ванны для прыжков в воду расстояние между ними должно быть не менее 8 м (предпочтительнее 10 м).
5.40 В основе расчета пропускной способности плавательного бассейна должна быть пропускная способность одной дорожки. Для дорожек длиной 25 м - 8 чел., 50 м - 12 чел. При организации в универсальной ванне размерами 50x25 м занятий по спортивному плаванию поперек ванны совместно с проведением занятий по другим видам водного спорта, суммарный расчет следует выполнять исходя из пропускной способности по каждому виду спорта. При этом общая пропускная способность ванны должна быть не более допустимой по СанПиН 2.1.2.1188.
5.41 Для проведения тренировочных занятий спортивная ванна может быть разделена на большее число дорожек исходя из уменьшенной ширины дорожек (при условии наличия закладных элементов в стенках бассейнов для крепления тросов) с большей общей пропускной способностью ванны, но не более допустимой по СанПиН 2.1.2.1188.
5.42 Указатели поворота (шнуры с флажками) для плавания на спине устанавливают на вертикальных стойках (в установочные стаканы на бортиках бассейна). Стойки обеспечивают фиксирование указателя поперек ванны в 5 м от каждой торцевой стенки на высоте 1, 8 м от поверхности воды.
5.43 Шнур фальстарта устанавливают на вертикальных стойках (в установочные стаканы на бортиках бассейна). Стойки обеспечивают фиксирование шнура поперек ванны в 15 м от стартового блока на высоте не менее 1, 2 м над уровнем воды. Шнур должен быть механизмом быстрого высвобождения, при сбрасывании на воду должен перекрывать все дорожки. Необходимость наличия шнура определяется заданием на проектирование.
5.44 Закладные детали, применяемые для крепления стоек шнура фальстарта и шнура с сигнальными флажками размещаются на обходной дорожке за переливным желобом.
5.45 Цвет разметки осей дорожек на дне ванны должен быть контрастным цвету покрытия ванны. Разметка 50- и 25-метровых ванн для спортивного плавания показана на рисунках 5.7, 5.8 и 5.9.
5.46 Все стороны ванн спортивного бассейна должны быть с переливным желобом, который должен быть закрыт специальной решеткой. При проектировании ванн переливного типа следует учитывать необходимость установки поворотных щитов на торцевых стенках бассейна, выступающих на высоту 0, 3 м над поверхностью воды.
5.47 При проектировании ванн бассейнов многофункционального назначения предусматривается плавучая перегородка (передвижной стартовый блок) - служит для имитации торцевой стенки бассейна и должна полностью перекрывать бассейн. Перегородка должна быть устойчивой, с гладкой нескользкой поверхностью, на которую могут быть установлены стартовые тумбы, контактные панели, опускаемые не менее чем на 0, 8 м ниже уровня воды в бассейне и выступающие на 0, 3 м выше ее уровня. В перегородке не должно быть отверстий и щелей, в которые могут случайно попасть пальцы спортсменов. Конструкцией перегородки должно быть обеспечено свободное передвижение по ней судей, участников и обслуживающего персонала, не вызывающее движения воды в бассейне и не создающее турбулентности.
В бассейнах с применением передвижной перегородки, длина ванны бассейна должна определяться с учетом толщины находящейся в ней перегородки.
5.48 Вдоль стенок плавательного бассейна на глубине не более 1, 2 м от поверхности воды следует предусматривать уступ для отдыха шириной от 0, 1 до 0, 15 м. Возможно применение как выступающих, так и заглубленных уступов, предпочтительны - заглубленные уступы. В универсальных и специализированных ваннах для прыжков в воду вдоль стенки, по которой расположены прыжковые устройства, устраиваются пологие ступени для выхода из воды, уступ для отдыха не предусматривается (см. рисунок 5.12).
5.49 Разделительные дорожки, протягиваются по всей длине бассейна и закрепляются на торцевых стенках анкерными болтами или другими закладными устройствами. Анкерные болты (закладные устройства) должны крепиться к стенкам бассейна таким образом, чтобы концы разделительных шнуров у стенок бассейна находились на уровне поверхности воды. Дорожка состоит из плотно нанизанных на шнур волногасителей и поплавков (элементов) диаметром от 0, 1 м до 0, 15 м. Цвет элементов на двух пятиметровых концах дорожки должен быть красным (см. рисунок 5.7А), цвет элементов в центральной части (см. рисунок 5.7Б) должен быть:
зеленым - для разделительных шнуров между стенкой ванны и краевыми дорожками;
желтым - для разделительных шнуров, отделяющих центральные дорожки;
синим - для разделительных шнуров между остальными дорожками.
Разделительные шнуры должны быть в жесткой растяжке.
На разделительных дорожках ванн длиной 25 м должна быть 15-метровая отметка с обоих концов (поплавок контрастного цвета). В 50-метровых бассейнах поплавком особого цвета должна быть обозначена и 25-метровая отметка дистанции.
5.50 В ваннах для спортивного плавания по одной или обеим торцевым стенкам следует предусматривать стартовые тумбы.
Стартовые тумбы, высотой над уровнем воды от 0, 5 до 0, 75 м, должны быть изготовлены из твердого материала (без пружинящего эффекта). Размеры нескользкой поверхности стартовой тумбы - не менее 0, 5х0, 5 м, максимальный угол наклона поверхности тумбы может быть не более 10°. Конструкцией стартовой тумбы может быть предусмотрен регулируемый упор для отталкивания ногами и поручни для хвата руками. Для старта, при плавании на спине, должны быть установлены вертикальные и горизонтальные поручни на высоте от 0, 3 до 0, 6 м над поверхностью воды как в горизонтальной, так и в вертикальной плоскости.
5.51 Закладные устройства не должны выступать из плоскости стенок ванны и обходной дорожки.
5.52 Во всех ваннах следует предусматривать лестницы для входа/выхода из воды. Ванна для спортивного плавания длиной 50 м должна быть оснащена тремя лестницами по каждой длинной стороне, ванна длиной 25 м - двумя лестницами, расположенными в нишах, не выступающих из плоскости стенок ванн.
Размеры ниши необходимо предусматривать в соответствии с размерами лестницы:
0, 8-1x0, 2-0, 25 м - размер ниш для лестниц в плане;
Поручни лестницы выполняются разновысокими для удобного пользования посетителей разного роста;
Лестницы должны быть выполнены из нержавеющей стали;
Ширина лестницы - 0, 6 м, расстояние между ступенями - 0, 3 м;
Лестницы располагаются не ближе 3 и не далее 5 м от торцевых стенок; в случае устройства смотровых окон или выплывов они размещаются дальше от торцевой стены, чем смотровое окно или выплыв;
Бассейны для синхронного плавания
5.53 Схема размещения соревновательной зоны для синхронного плавания в 50-метровом плавательном бассейне приведена на рисунке 5.10. Для проведения соревнований по обязательной и произвольной программам спортивная зона ванны бассейна категории А должна быть 20х30 м и глубиной 3 м. Пропускную способность ванны для синхронного плавания следует принимать по максимальному числу участников - 10.
Для произвольных программ минимальная соревновательная зона - 12x25 м.
Для дисциплин синхронного плавания Соло и Дуэт соревновательная зона должна быть размерами 16x25 м.
При отсутствии на стенках бассейна линий разметки для спортивного плавания, на дно ванны, продольно, должны быть нанесены контрастные линии.

5.54 Минимальная высота стартового помоста для синхронного плавания - 0, 5 м, предпочтительно - 0, 7 м.
5.55 Высота платформы для судей - 0, 6 м.
Бассейны для водного поло
5.56 Схема размещения соревновательной зоны для водного поло в 50-метровом плавательном бассейне приведена на рисунке 5.11.


5.57 Расстояние между линиями ворот для водного поло должно быть 30 м для мужчин и 25 м для женщин. Граница игровой зоны по обоим концам находится на расстоянии 0, 3 м за линией ворот. Ширина игрового поля - 20 м. Глубина бассейна - не менее 1, 8 м, предпочтительно - 2 м.
5.58 По обе стороны игровой зоны (игрового поля) для водного поло следует обеспечивать четкую разметку для обозначения линий ворот, линии длиной 2 м и 5 м от линии ворот и линии середины расстояния между линиями ворот. Белая линия измеряется от границы игрового поля и находится на расстоянии 0, 3 м от линии ворот, выполняется с двух сторон поля. Красная линия длиной 2 м измеряется от конца линии ворот, выполняется с двух сторон поля. Желтая линия длиной 3 м от 2-метровой линии, выполняется с двух сторон поля. Средний участок игрового поля должен быть зеленого цвета, для игр мужских команд он должен быть 20 м, для игр женских команд - 15 м. В середине зеленой зоны наносится белая линия разметки для обозначения центра поля. Зоны для замены игроков размещаются в двух углах по бокам на противоположной от судейского стола стороне бассейна. Они составляют 2 м в длину и проходят вдоль линии ворот.
В центре поля, на дне ванны, устанавливается устройство для высвобождения мяча.
5.59 По обеим сторонам игрового поля должны быть устроены платформы шириной 1 м и высотой 0, 7 м над уровнем воды. Они предназначены для свободного передвижения судей от одного конца игрового поля к другому.
5.60 Пропускную способность ванны категории А для водного поло следует принимать из расчета составов двух команд - 14 чел.
Бассейны для прыжков в воду
5.61 Размеры ванн для прыжков в воду и расстановку устройств для прыжков (трамплинов и платформ) следует принимать в соответствии с, приведенным на рисунках 5.12, 5.13.
Погрешность установки трамплинов и платформ над уровнем воды не должна быть более плюс 50 мм.


Параметры и размеры трамплинов и платформ для прыжков в воду



5.62 Размер стороны специализированных ванн для прыжков, где установлены прыжковые устройства, рекомендуется принимать равным 25 м для возможности использования их и для занятий пловцов.
5.63 Пропускную способность каждого устройства для прыжков принимают равной 6 чел. в смену, максимальная пропускная способность специализированной ванны для прыжков в воду с полным комплектом прыжковых устройств принимается в 30 чел.
5.64 В местах установки трамплинов, при необходимости, следует предусматривать закладные детали для их крепления.
5.65 Доска трамплина для прыжков должна быть размерами не менее: 4, 8 м - длина и 0, 5 м - ширина, с нескользкой поверхностью, жестко закрепленным торцом и передвижной опорой, легко меняющей амортизационные характеристики доски.
5.66 Для трамплинов на бетонной платформе должны соблюдаться следующие требования:
Высота от верха платформы, поддерживающей станину, до верха трамплинной доски должна составлять 0, 35 м;
Расстояние от переднего края станины до переднего края платформы должно быть не более 0, 44 м (длина станины 0, 741 м);
5.67 Передние края трамплинов одинаковой высоты, должны быть на одной линии.
5.68 Трамплины размещаются с одной или с обеих сторон платформ. Для программы соревнований по синхронным прыжкам необходимо, чтобы не менее двух трамплинов одинаковой высоты располагались на общей платформе (увеличенной ширины) или на соседних опорах.
5.69 Платформа для прыжков в воду должна быть жесткой и горизонтальной.
5.70 Минимальные размеры платформ для прыжков приведены в приложении В.
На платформе 10 м шириной менее 3 м обязательна установка ограждения. Перила должны заканчиваться на расстоянии 3 м от переднего края платформы. Допускается использование съемных секций ограждения (ближних к переднему краю) на платформе 10 м для исполнения синхронных прыжков.
5.71 Толщина переднего края платформы должна быть 0, 2-0, 3 м.
Платформы должны быть с антискользящим покрытием, с учетом эксплуатации в сухом, влажном или мокром состоянии.
5.72 Проекция переднего края платформы 10 м должна выступать вперед за проекцию стенки ванны не менее чем на 1, 5 м; платформ 7, 5 м, 5 м и 2, 6-3, 0 м - на 1, 25 м; платформ 0, 6-1, 0 м - на 0, 75 м.
При расположении двух платформ непосредственно друг под другом, верхняя платформа должна выступать минимум на 0, 75 м (предпочтительнее 1, 25 м) за край нижней платформы.
5.73 Платформы высотой от 1 м должны быть с ограждением по боковым сторонам и заднему краю. Минимальная высота ограждения должна быть 1, 0 м с вертикальными опорами через каждые 1, 8 м и двумя горизонтальными перемычками между ними. Перила устанавливаются по внешним отвесам платформы и оканчиваются на расстоянии 1 м до переднего края. Схема ограждения платформ приведена на рисунке 5.13А.
5.74 Каждая платформа должна быть оснащена подъемным устройством или лестницей.
5.75 Проектная нагрузка от платформ и опорных устройств трамплинов на опорную часть вышки составляет 350 кгс/м 2 .
Для безопасности пользователя, следует соблюдать следующие ограничения относительно платформ и опорных устройств трамплинов:
Собственная частота колебаний платформ - не более 10 Гц;
Собственная частота колебаний вышки - не более 3, 5 Гц;
Колебание всей конструкции - не более 3, 5 Гц.
Деформация переднего края платформы возникающая под воздействием нагрузки в 100 кг не должна превышать 1 мм.
5.76 В ваннах для прыжков в воду и в глубокой части универсальных ванн, предназначаемой для прыжков, уклон дна следует принимать согласно рисунку 5.12.
5.77 Края платформ 5 м, 3 м и 1 м не должны выступать за пределы края трамплинов 3 м и 1 м, при размещении их рядом.
5.78 Спортивные ванны для прыжков в воду должны быть оборудованы устройством создания волновой ряби на поверхности воды. Для достижения цели допускается применение любого механизма создания волновой ряби: пузырькового (воздушная подушка) или струйного (горизонтальное разбрызгивание).
На обходных дорожках ванн для прыжков в воду и универсальных ванн, в непосредственной близости к прыжковым устройствам, следует располагать душевые установки из расчета одна сетка на 10 прыгунов. Душ может располагаться в открытых кабинах или без кабин. Температура воды - 36°С - 40°С.
5.80 Ширина полос разметки для прыжковых бассейнов должна быть 0, 2 м, но не более 0, 3 м, длина: 21 м для 25-метровой длины бассейна (см. рисунок 5.13Б).
В специализированных ваннах для прыжков в воду для выхода из воды допускается устройство одной лестницы или ступенек, расположенных под прыжковыми устройствами по всей ширине ванны (см. рисунок 5.12, лист 1).
5.81 В зданиях спортивных бассейнов места для зрителей располагаются за пределами спортивной зоны и эвакуационного прохода, в случае, если эвакуация предусматривается по проходу перед первым рядом зрительским мест, число непрерывно установленных мест в ряду должно быть не более 26 при одностороннем выходе из ряда, не более 50 - при двухстороннем выходе.
5.82 В плавательных бассейнах допускается размещение мест для зрителей на балконах. Балкон устраивается вдоль продольных стен зала, не должен мешать размещению под ним спортивного оборудования.
5.83 Глубина ряда на стационарных трибунах принимается 0, 9 м. На трансформируемых трибунах этот размер допускается уменьшать до 0, 8 м.
Минимальная ширина места для сидения принимается - 0, 45 м, рекомендуемая - 0, 5 м.
Глубина сидения на стационарных трибунах - 0, 4 м. На трансформируемых трибунах ее допускается уменьшать до 0, 35 м.
5.84 Условия видимости приведены в .
5.86 Уклон лестниц трибун для зрителей определяется по СП 118.13330.
5.87 Места на трибунах для людей на креслах-колясках, их сопровождающих и иных категорий маломобильных групп населения проектируются в соответствии с СП 59.13330.
5.88 При расчете вспомогательных помещений бассейнов со зрительскими местами число зрителей следует учитывать при расчете площади:
Вестибюля (дополнительно 0, 25 м 2 на одно зрительское место);
Гардероба (дополнительно 0, 1 м 2 на одно зрительское место, но не менее 10 м 2);
Фойе (дополнительно 0, 35 м 2 на одно зрительское место);
Обеденного зала, буфета (дополнительно 1, 4 м 2 на одно зрительское место);
Дополнительных санитарных узлов, из расчета числа зрителей согласно СП 118.13330.
5.89 В спортивных бассейнах, предназначенных для проведения всесоюзных и международных соревнований предусматриваются помещения для судей и пресс-центра. Они включают: кабинет главного судьи - 10-12 м 2 ; комнату судейской коллегии 16-20 м 2 ; комнату секретариата - 16-20 м 2 ; комнату множительной техники - 10-12 м 2 .
5.90 В составе помещений бассейна предусматривается холл для награждения победителей и призеров, рабочая комната гравера - 8 м 2 , кладовая для хранения призов - 6-8 м 2 .
5.91 Состав помещений пресс-центра определяется заданием на проектирование.
Обходные дорожки
5.92 По периметру ванн следует предусматривать обходную дорожку шириной не менее 2 м у крытых и не менее 2, 5 м у открытых ванн (считая от внешней грани стенки ванны).
Ширина обходной дорожки у торцевой стенки ванны со стартовыми тумбочками принимается не менее 3 м; ширина обходной дорожки вдоль стенок с устройствами для прыжков принимается с учетом габаритов этих устройств и обеспечения подходов к ним.
Поверхность обходной дорожки должна быть нескользкой с уклоном 0, 01-0, 02 в сторону трапов.
По внешнему периметру обходных дорожек открытых ванн следует предусматривать стационарное ограждение, исключающее доступ к ваннам посторонних лиц.
6 Помещения раздевальных
6.1 Помещения раздевальных размещаются на одной отметке с обходными дорожками вокруг ванн бассейнов и сообщаются с ними через душевые, а с залом или площадкой для подготовительных занятий - минуя душевые. Функциональные взаимосвязи помещений раздевальных и бассейна показаны на рисунке 6.1.


6.2 В бассейнах с несколькими ваннами для каждой из них рекомендуется проектировать отдельные раздевальные.
6.3 Число мест в раздевальной принимается равным числу занимающихся в одну смену. Соотношение мест в мужской и женской раздевалках принимается 1:1, если иное не предусмотрено заданием на проектирование.
6.4 Раздевальные предназначаются как для переодевания, так и для хранения одежды.
6.5 Для переодевания в раздевальных устраиваются скамьи из расчета - 0, 6 м длины скамьи на одно сидячее место. Площадь одного места переодевания (с учетом подхода к нему) составляет: при числе мест в раздевальной менее 40 - 1, 5 м 2 , при числе мест в раздевальной более 40 - 1, 2 м 2 .
6.6 Хранение одежды предусматривается в закрытых шкафах двух типов: двухъярусных (каждый шкаф на два места) и одноярусных (каждый шкаф на 3 места).
6.7 Для старших школьников и взрослых на одно место на скамье для переодевания в раздевальных следует предусматривать:
Три места в шкафах в бассейнах без зала для подготовительных занятий пловцов;
Пять мест в шкафах для переодевания в бассейнах с залом для подготовительных занятий.
6.8 В бассейнах для детей дошкольного возраста в раздевальных предусматриваются только одноярусные шкафы, при этом на одно место для переодевания предусматриваются три места для хранения одежды (один одноярусный шкаф).
6.9 Общие значения площади раздевальных, приходящейся на одного занимающегося составляют:
для раздевальных с числом мест до 40:
2, 1 м 2 - в бассейнах без залов для подготовительных занятий;
2, 5 м 2 - в бассейнах с залами для подготовительных занятий;
для раздевальных с числом мест 40 и более:
1, 7 м 2 - в бассейнах без залов для подготовительных занятий;
2, 1 м 2 - в бассейнах с залами для подготовительных занятий.
для раздевальных, предназначенных для детей до 10 лет - 2, 9 м 2 .
6.10 Ширина проходов между элементами оборудования в раздевальных приведена в приложении Г.
6.11 Душевые при раздевальных проектируются из расчета - одна душевая сетка на трех человек, одновременно занимающихся в ванне.
При душевых с числом сеток более шести предусматривается прихожая, площадь которой определяется из расчета 0, 3-0, 5 м 2 на одну душевую сетку. Прихожая оборудуется вешалками для полотенец и ячейками для хранения мыла и мочалок.
6.12 В местах выхода из душевой на обходную дорожку предусматривается проходной ножной душ длиной (по направлению движения из душевой) не менее 1, 8 м, глубиной 0, 1-0, 15 м. Ножная ванна может не предусматриваться при непосредственном выходе из душевой на обходную дорожку бассейна.
6.13 В раздевальных следует предусматривать мойки для ног из расчета - одна мойка на 20 мест для переодевания, но не менее одной.
6.14 В раздевальных или смежных с ними помещениях устанавливаются сушилки для волос из расчета - одна сушилка на 10 мест для переодевания в женских раздевальных и одна сушилка на 20 мест - в мужских раздевальных. Для размещения сушилок предусматривается дополнительная площадь из расчета 1, 3 м 2 на одну сушилку.
6.15 Уборные для занимающихся должны размещаться при раздевальных, при этом исключается возможность прохода через уборные к ванне, минуя душевые.
6.16 Не допускается располагать уборные и душевые над помещениями для приготовления и хранения коагулирующих и дезинфицирующих растворов.
6.17 Расчетное число санитарных приборов приведено в приложении Д.
6.18 Для маломобильных граждан в душевых и раздевальных следует предусматривать кабинки для переодевания. Схемы устройства кабинок приведены на рисунке 6.2.

7 Вспомогательные помещения
7.1 Вспомогательные помещения бассейнов подразделяются на обязательные и рекомендуемые. Их состав приведен в приложении Е.
7.2 Для физкультурно-оздоровительных бассейнов зрительские места, как правило, не предусматриваются.
7.3 В бассейнах, размещаемых в отдельных зданиях, площадь гардеробной верхней одежды занимающихся определяется из расчета - 0, 1 м 2 на одно место, но не менее 10 м 2 .
7.4 В дошкольных и общеобразовательных организациях с бассейнами, число мест (крючков) должно быть увеличено на:
200% числа одновременно занимающихся в бассейне детей - с учетом бассейнов с залами для подготовительных занятий;
100% числа одновременно занимающихся в бассейне детей - с учетом бассейнов без залов для подготовительных занятий;
7.5 Число крючков в гардеробе сотрудников образовательной организации с бассейном, должно быть увеличено на число сотрудников бассейна, определяемое штатным расписанием. Для сотрудников, занимающихся в бассейне может проектироваться отдельный гардероб.
7.6 В оздоровительных бассейнах, где предусматривается оказание платных услуг, следует проектировать помещение регистратуры площадью не менее 6 м 2 , и помещение кассы площадью не менее 4 м 2 , с выходом в вестибюль здания.
7.7 Помещение преподавателей (инструкторов) плавания проектируется из расчета 2, 5 м 2 на одного преподавателя, но не менее 10 м 2 . Оно оснащается отдельными душевой, уборной и кабинами для переодевания. Помещения инструкторов предусматриваются, как правило, раздельными для мужчин и женщин.
В дополнение к общей комнате инструкторов в учебных и оздоровительных бассейнах следует проектировать комнату дежурного инструктора площадью 8 м 2 - которая должна быть с выходом на обходную дорожку бассейна. Наличие этой комнаты не уменьшает требуемой вместимости общей комнаты инструкторов.
7.8 Залы для подготовительных занятий проектируются поблизости от ванн бассейнов, причем для каждой ванны рекомендуется предусматривать свой зал. Площадь зала, независимо от возраста занимающихся, принимается из расчета 11, 5 м 2 на одного занимающегося в бассейне.
7.9 В зданиях образовательных организаций залы подготовительных занятий бассейна рекомендуется размещать совместно с другими спортивными залами в единой зоне здания.
7.10 Залы подготовительных занятий оснащаются инвентарными с открытым дверным проемом шириной не менее 1, 8 м. Площадь инвентарной бассейнов для детей дошкольного возраста принимается - 8 м 2 , для остальных бассейнов - 12 м 2 .
7.11 В учебных и оздоровительных бассейнах проектируется комната дежурной медсестры площадью 12 м 2 , с непосредственным выходом на обходную дорожку ванны бассейна. При нескольких ваннах, расположенных в разных помещениях, комната медицинской сестры предусматривается для каждой ванны.
7.12 Учебно-методический кабинет проектируется площадью 40 м 2 . В бассейне с несколькими ваннами по заданию на проектирование могут предусматриваться два учебно-методических кабинета.
7.13 Состав и площади административно-хозяйственных, помещений бассейнов следует определять по СП 118.13330 и ГОСТ Р 53491.1.
7.14 При размещении бассейна на площади образовательной организации или многофункционального физкультурно-оздоровительного центра, состав помещений бассейна следует определять как часть их общего состава в организации (учреждении) исключая дублирование.
7.15 Состав, площади и высота технических помещений зависят от принимаемых инженерных решений и определяются заданием на проектирование.
7.16 Помещения хлораторной (8-10 м 2) и склада хлора (6 м 2) для хранения не более двух наполненных баллонов емкостью по 40 кг каждый допускается размещать у наружной стены здания бассейна, выше уровня земли, с отделением от других помещений ограждающими конструкциями из несгораемых материалов с пределом огнестойкости не менее 0, 75 ч.
Помещения хлораторной и склада хлора должны быть с выходом на улицу непосредственно или через тамбур. Допускается устройство общего тамбура для выхода из обоих помещений наружу.
Не допускается располагать санитарные узлы и душевые над помещениями для приготовления дезинфицирующих и коагулирующих растворов.
7.17 В зданиях бассейнов в составе вспомогательных помещений следует предусматривать помещение химической лаборатории площадью 18 м 2 оснащенное подводками горячей и холодной воды, вытяжным шкафом согласно ГОСТ Р 53491.1.
7.18 В состав помещений бассейнов допускается включать медико-восстановительный центр (приложение Ж). Необходимость его включения определяется заданием на проектирование.
8 Конструкции и отделка помещений с влажным и мокрым режимами
8.1 При проектировании железобетонных и стальных конструкций бассейнов следует предусматривать защиту их от коррозии в соответствии с СП 28.13330, при проектировании деревянных конструкций - предусматривать меры, обеспечивающие их долговечность в соответствии с СП 64.13330.
8.3 Внутренние поверхности ограждающих конструкций помещений должны быть без выступов и мест возможного скопления влаги и пыли. Сопряжения стен и колонн с полами помещений с влажным и мокрым режимами должны быть закругленными.
8.4 На внутренних сторонах ограждающих конструкций помещений с влажным и мокрым режимами в соответствии с расчетом должна быть пароизоляция или гидроизоляция из биостойких материалов.
8.5 В междуэтажных перекрытиях и полах первого этажа помещений с мокрым и влажным режимами следует предусматривать гидроизоляцию. Гидроизоляция должна быть заведена на стену, перегородки и колонны выше поверхности пола на 300 мм.
Стыки между сборными элементами перекрытий должны быть с дополнительным слоем гидроизоляции на 100 мм в каждую сторону.
8.6 Стены и перегородки в помещениях с мокрым и влажным режимами следует облицовывать керамическими, полимерными или стеклянными плитками на всю высоту. Допускается облицовка стен на высоту 1, 8 м от уровня пола, выше - окраска водостойкими красками. Для отделки помещений следует предусматривать материалы светлых тонов.
8.7 Полы в помещениях с влажным и мокрым режимами должны быть стойкими к воздействию влаги и дезинфицирующих щелочных растворов, легко очищаться от загрязнения.
В помещениях с мокрым режимом уровень чистого пола должен быть на 30 мм ниже уровня пола других смежных помещений, поверхность пола должна быть нескользкой.
Железобетонные конструкции, покрытые кафельной плиткой, ПВХ пленкой или эластичным материалом, соответствующим требованиям Роспотребнадзора;
Металлические сварные конструкции из нержавеющей стали;
Металлические сборные конструкции ламинированные ПВХ пленкой;
Металлические сборные конструкции покрытые ПВХ пленкой.
8.9 Обходные дорожки и борта ванны облицовываются керамическими, бетонными или мозаичными плитами с шероховатой, нескользкой, возможно, рифленой поверхностью.
8.10 Материал покрытия обходной дорожки, скамей, стенок и дна ванн должен быть устойчивым к применяемым для очистки воды и ванны химическим реагентам и легко поддаваться очистке и дезинфекции. Внутренняя поверхность стенок и дна ванн выполняется из материалов светлых тонов. Швы между облицовочными плитками затираются.
8.11 Заполнения оконных и дверных проемов в помещениях с влажным и мокрым режимами следует выполнять из водостойких и биостойких материалов. Допускается предусматривать оконные переплеты из антисептированной древесины хвойных пород, защищенные от увлажнения влагостойкими покрытиями.
8.12 Для проветривания помещений в оконных переплетах необходимо предусматривать открывающиеся фрамуги или форточки, расположенные в верхней части проемов. Фрамуги и форточки должны быть изолированы от межоконного пространства специальными коробами.
9 Естественное освещение
9.1 Залы ванн и залы подготовительных занятий должны быть с прямым естественным освещением. Площадь световых проемов (% площади пола зала) составляет:
для залов ванн (включая площадь зеркала воды):
14% - 16% - при одностороннем боковом освещении,
12% - 13% - при двух и многостороннем боковом освещении;
для залов подготовительных занятий:
17% - при одностороннем боковом освещении;
14% - при двух и многостороннем боковом освещении.
9.2 Световые проемы стен и потолка для обеспечения равномерности освещения рекомендуется проектировать ленточными и размещать не ниже 2 м от уровня обходной дорожки.
9.3 Ориентация световых проемов помещений ванн и залов для подготовительных занятий не регламентируется.
9.4 Естественное освещение в зданиях физкультурно-оздоровительных бассейнов предусматривается для кабинета медсестры, учебно-методического кабинета, мастерских, административных помещений, помещений инженерно-технического персонала, пожарного поста, охраны, складов спортивного оборудования, хозяйственных кладовых. В других помещениях необходимость естественного освещения определяется по СП 52.13330 и СП 118.13330.
10 Водоснабжение и канализация
10.1 При отсутствии в населенном пункте централизованного водоснабжения для обеспечения бассейнов водой предусматривается устройство собственного водозаборного узла или используются местные источники, вода в которых должна соответствовать СанПиН. 2.1.4.1074, ГОСТ Р 53491.1 и ГОСТ Р 53491.2.
10.2 Для бассейнов с морской водой выбор места водозабора должен проводиться в соответствии с 10.1. При этом оголовок водозабора должен быть на высоте не менее 2 м от донной поверхности с подачей морской воды из средних слоев.
10.3 Качество воды, поступающей в ванны физкультурно-оздоровительных бассейнов, должно соответствовать СанПиН 2.1.2.1188 и ГОСТ Р 53491.1.
10.4 Устройство внутреннего хозяйственно-питьевого и противопожарного водопроводов, нормы расхода воды в сутки, часы максимального водопотребления, и устройство канализации приведены в и должны соответствовать СП 30.13330.
10.5 Потребление воды на мытье обходных дорожек, а также персоналом и в буфетах учитывается отдельно.
Расчет водопотребления в буфетах может быть выполнен как по числу отпускаемых блюд, так и по числу моек.
10.6 Проходные ножные души следует предусматривать с непрерывным потоком воды.
10.7 Для обеспечения хозяйственно-бытовых и технологических нужд следует предусматривать горячее водоснабжение.
10.8 Расходы горячей воды следует определять согласно СП 30.13330.
Отдельно следует учитывать расходы горячей воды на проходной ножной душ с расходом 720 л/ч, температурой 30°С - 35°С, продолжительностью работы - 30 мин в смену и мытье обходных дорожек и душевых с расходом 6 л/м и температурой 30°С (два раза в сутки).
10.9 Подводку горячей воды следует предусматривать к душевым, кабинету врача, комнате медицинской сестры, бытовым помещениям для рабочих, раздевальням для занимающихся, комнатам инструкторов, буфетам, лаборатории анализа воды, помещениям для уборочного инвентаря, а также к другим помещениям в соответствии с технологическим заданием.
10.10 В санитарных узлах и душевых с числом приборов более двух (унитазов, писсуаров, душевых сеток) и на обходных дорожках ванн следует предусматривать установку поливочных кранов диаметром 20 мм с подводкой холодной и горячей воды. Поливочные краны открытых ванн следует устанавливать в отапливаемых помещениях.
10.11 У ванн бассейнов допускается устраивать питьевые фонтанчики для занимающихся, устанавливаемые в пределах обходной дорожки.
30°С - 32°С - для детей дошкольного возраста;
29°С - 30°С - учебных;
26°С - 29°С - оздоровительных;
25°С - 28°С - для спортивного плавания;
Не менее (27±1)°С - для синхронного плавания;
Не менее (26±1)°С - для водного поло;
Не менее 26°С - для прыжков в воду,
в соответствии с СанПиН 2.1.2.1188.
10.13 Плавательные бассейны должны быть оборудованы системами, обеспечивающими водообмен в ваннах бассейна. По принципу водообмена бассейны подразделяются на:
Рециркуляционного (оборотного) типа;
Проточного типа;
С периодической сменой воды.
10.14 Для ванн детей дошкольного возраста рекомендуется принцип рециркуляции с периодической сменой воды. Для ванн учебных, оздоровительных и спортивных бассейнов - рекомендуется водообмен оборотного типа.
10.15 Рециркуляция в ваннах бассейнов предусматривает многократное применение воды с очисткой, дезинфекцией и одновременным пополнением убыли свежей водопроводной водой согласно СанПиН 2.1.2.1188.
Не более 0, 5 ч - для бассейнов детей дошкольного возраста;
Не более 4, 0 ч - для учебных бассейнов;
Не более 6, 0 ч - для оздоровительных бассейнов;
Не более 8 ч - для спортивных бассейнов.
Указанное время полного водообмена не распространяется на бассейны проточного типа.
10.17 Подача воды в ванны бассейнов может осуществляться через отверстия в стенках и дне ванн (второй вариант предпочтительнее), расположение которых должно обеспечивать равномерное распределение ее по всему объему для поддержания постоянства ее температуры, а также равномерное распределение дезинфектанта.
Скорость выхода воды из подающих отверстий следует принимать не более 2-3 м 3 /с.
10.18 Для бассейнов проточного типа и со сменой воды допускается применение воды, поступающей из централизованной системы питьевого водоснабжения при соблюдении требований СанПиН 2.1.2.1188. Необходимость обеззараживания такой воды определяется ГОСТ Р 53491.1.
10.19 Очистку технологической воды ванн бассейнов следует осуществлять в соответствии с СанПиН 2.1.2.1188.
10.20 Водосточные сооружения в бассейнах следует предусматривать раздельно для каждой ванны или для группы ванн одинакового назначения.
10.21 Не допускается последовательное включение в единую систему водоподготовки двух и более ванн.
10.22 Обеззараживание воды в бассейнах следует проводить в соответствии с ГОСТ Р 53491.1 и СанПиН 2.1.2.1188.
10.23 На технологических трубопроводах в бассейнах следует предусматривать установку:
Расходомеров, показывающих количество воды, подаваемой в ванну;
Расходомеров, показывающих количество свежей водопроводной воды, поступающей в рециркуляционную систему;
Контрольных кранов для отбора проб воды:
Поступающей в систему водоподготовки бассейнов всех типов;
До и после фильтров - в бассейнах рециркулирующего типа;
После обеззараживания перед подачей воды в ванну.
10.24 Для насосно-фильтровальных установок, располагаемых ниже поверхности воды в ваннах, на технологических трубопроводах, подающих воду, следует устанавливать обратные клапаны, исключающие слив воды из ванн в технические помещения при разгерметизации фланцевых соединений у арматуры и оборудования.
10.25 При заборе воды из переливных желобов на рециркуляцию ее допустимый объем от общего рециркуляционного расхода воды определяется ГОСТ Р 53491.1.
Для хранения воды, из переливных желобов, устанавливается бак-аккумулятор (балансный резервуар). Обновление воды в бассейне осуществляется непрерывно в течение суток согласно ГОСТ Р 53491.1.
10.26 Для сокращения общего расхода воды на технологические нужды может применяться вода из балансного резервуара (полив, уборка помещений и т.п.).
10.27 Потери воды на испарение, унос и разбрызгивание Q, м 3 /ч, в крытых ваннах могут определяться укрупненно по формулам:
во всех ваннах, кроме ванн для обучения неумеющих плавать:
Q = 0, 0064 F; q ч =0, 0003F;
в ваннах для обучения плаванию:
Q = 0, 0083 F; q ч =0, 0004F;
где F - площадь зеркала воды, м 2 .
10.28 Расход воды, м 3 /сут, используемой для промывки фильтров, определяется по ГОСТ Р 53491.1.
10.29 Расходы воды Q 2 , м 3 /сут, на мытье обходных дорожек и душевых при ванне определяется по формуле (две уборки в сутки): Q 2 =0, 012F д,
где F д - площадь убираемых помещений, м 2 .
10.30 Сброс воды проходных ножных душей, с обходных дорожек и от мытья стенок и дна ванн бассейнов следует предусматривать в бытовую канализацию.
10.31 Вода от питьевых фонтанчиков или питьевых автоматов, опорожнения ванн, промывки фильтров должна удаляться в дождевую канализацию.
10.32 Продолжительность стока воды при опорожнении ванн бассейнов объемом 600 м 3 и менее следует принимать не более 12 ч, а при объеме воды более 600 м 3 - не более 24 ч.
10.33 Проектирование систем водопровода и канализации зданий бассейнов должно соответствовать СП 30.13330.
11 Отопление и вентиляция
11.1 Системы отопления и вентиляции бассейнов должны обеспечивать значения параметры микроклимата и воздухообмена помещений плавательных бассейнов, приведенные в приложении И.
11.2 Подвижность воздуха в зонах нахождения занимающихся не должна превышать:
0, 2 м 3 /с - в залах ванн бассейнов;
0, 5 м 3 /с - в залах для подготовительных занятий.
50% - 65 - в залах ванн бассейнов;
30% - 60% - в залах для подготовительных занятий.
11.4 При теплотехническом расчете ограждающих конструкций залов бассейнов относительную влажность воздуха следует принимать 67%, а его температуру - на 1°С - 2°С выше температуры воды в бассейне.
11.5 Нагревательные приборы и трубопроводы в залах ванн бассейнов и залах для подготовительных занятий при их устройстве на высоте до 2 м от пола не должны выступать из плоскости стен.
11.6 Обходные дорожки и стационарные скамьи бассейнов должны подогреваться.
11.7 Отдельные системы приточной и вытяжной вентиляции следует предусматривать для:
Залов ванн бассейнов;
Залов для подготовительных занятий;
Помещений административного и инженерно-технического персонала, бытовых помещений рабочих;
Хлораторных и складов хлора;
Технических помещений (насосно-фильтровальных, бойлерных, озонаторных и др.).
Пульты для включения систем вентиляции, обслуживающих хлораторную и озонаторную, должны быть установлены вне этих помещений.
11.8 Для залов ванн рекомендуется применять вентиляционные установки работающие в двух режимах: самостоятельные приточные и вытяжные установки, предназначенные только для нерабочего периода бассейнов; дополнительные установки совместно с первыми двумя должны, в период работы бассейнов, обеспечивать расчетный воздухообмен.
11.9 Удаление воздуха из залов ванн бассейнов следует, как правило, предусматривать вытяжными системами с механическим побуждением, в залах подготовительных занятий допускается применение систем с естественным побуждением, с помощью вентиляционных шахт, устанавливаемых на кровле здания.
11.10 Системы вытяжной вентиляции из санитарных узлов и из душевых допускается объединять.
11.11 В залах ванн и подготовительных занятий могут применяться комбинированные системы воздушного отопления, совмещенные с вентиляцией воздуха. В этих системах допускается применение принципа рециркуляции воздуха. При этом объем подаваемого наружного воздуха должен быть не менее указанного в приложении К.
11.13 При температуре наружного воздуха ниже минус 20°С в тамбурах основных входов плавательных бассейнов рекомендуется устраивать воздушно-тепловые завесы. Воздушно-тепловую завесу допускается заменять тамбуром с тремя, последовательно расположенными, дверями.
11.14 Вентиляцию помещений хлораторных и складов хлора следует предусматривать периодического действия. Удаление воздуха осуществляется из двух зон: верхней в объеме 1/3 и нижней - 2/3 общего объема вытяжки. Вентиляционные агрегаты необходимо размещать вне этих помещений. Управление агрегатами осуществляют от пусковых устройств, устанавливаемых у входа в помещения.
11.15 Помещения приточных систем рекомендуется размещать в подвальных или цокольных этажах (на грунте) так, чтобы протяженность трасс воздуховодов была минимальной. В исключительных случаях, когда не представляется возможным разместить эти помещения в нижних этажах, допускается их размещение вне основного здания (в отдельном или пристроенном блоке).
11.16 Системы отопления, вентиляции, горячего водоснабжения и кондиционирования воздуха в зданиях бассейнов следует проектировать в соответствии с СП 60.13330.
12 Электроснабжение и электрические устройства
12.1 Искусственное освещение предусматривается во всех помещениях бассейнов, а также в открытых ваннах круглогодичного действия.
12.2 Уровень освещенности ванн бассейнов принимается 150 люкс на поверхности воды для крытых ванн, и 100 люкс - для открытых ванн.
Интенсивность освещения для спортивного плавания на стартовом плоту и поворотном конце бассейна должна быть не менее 600 люкс. При проведении соревнований категории А по спортивному плаванию освещенность всего бассейна должна быть не менее 1500 люкс.
Освещенность для водного поло - не менее 600 люкс.
Освещенность при проведении соревнований категории А по водному поло и синхронному плаванию - не менее 1500 люкс.
Минимальная освещенность на уровне 1 м над поверхностью воды в прыжковых бассейнах должна быть не менее 600 люкс, при проведении соревнований категории А - не менее 1500 люкс.
12.3 Уровень минимальной горизонтальной освещенности поверхности пола залов и поверхности открытых площадок для подготовительных занятий следует принимать 150 и 50 лк соответственно.
12.4 Для освещения оздоровительных и учебных бассейнов следует принимать, как правило, газоразрядные лампы. При этом максимально допустимый коэффициент пульсации освещенности не должен превышать 15%.
12.5 При необходимости плавного регулирования светового потока и в случаях невозможности применения газоразрядных источников света допускается, а при уровнях освещенности менее 30 лк рекомендуется, применять лампы накаливания.
12.6 В зданиях бассейнов следует предусматривать эвакуационное освещение в соответствии с СП 52.13330. При этом на поверхности воды ванн крытых, а также открытых бассейнов, оборудованных осветительными установками, должна быть обеспечена аварийная освещенность не менее 5 лк.
Для освещения залов высотой 8 м и менее рекомендуется применять систему верхнебокового освещения с установкой светильников на боковых стенках и потолке за пределами зеркала воды. Наиболее комфортная система освещения - система отраженного света. При установке светильников на потолке зала необходимо обеспечивать угол отклонения не менее 40° в продольной и поперечной плоскостях.
12.7 При верхнебоковом освещении залов светильниками прямого света концентрированного светораспределения наклон оптической оси светильника должен быть не более 40° к вертикали.
12.8 При расположении светильников над зеркалом воды, осветительные приборы устанавливают на специальных мостках, располагаемых под потолком параллельно продольной оси ванны. Расположением осветительных приборов на мостках должно быть обеспечено равномерное освещение зеркала воды при отклонении оптической оси прожектора от вертикали не более 45°.
12.9 Наклон прожекторов концентрированного светораспределения должен быть не более 40°.
12.10 При верхнебоковом или боковом освещении залов ванн и залов подготовительных занятий не менее 10% суммарного светового потока осветительных приборов направляется вверх для освещения потолка.
12.11 Для ограничения слепящего действия светильников при освещении зальных помещений показатель ослепленности должен быть не более 60.
При применении газоразрядных ламп управление освещением осуществляется тремя-четырьмя ступенями.
12.12 На освещаемых открытых бассейнах следует предусматривать верхнебоковое освещение. Осветительные приборы верхнебокового освещения устанавливают на высоте не менее 10 м, обеспечивая условие, по которому перпендикуляр, опущенный из оптического центра прибора на продольную ось ванны, составит с ее поверхностью угол не менее 27°.
При применении мачт прожекторного освещения их располагают по продольным сторонам ванны.
12.13 На территории и в зданиях бассейнов следует предусматривать:
Радиофикацию от радиотрансляционной сети населенного пункта;
Телефонизацию от АТС населенного пункта;
Электрочасофикацию.
12.14 Расположением звукоаппаратной (дикторской) в крытых бассейнах должна быть обеспечена видимость зала ванны. Площадь дикторской принимается согласно СП 133.13330.
12.15 Проектировать естественное и искусственное освещения следует согласно СП 52.13330, СанПиН 2.2.1/2.1.1.1278 и СанПиН 2.2.1/2.1.1.1076.
12.16 Электрооборудование зданий бассейнов следует проектировать в соответствии с и .
12.17 Проектирование охранной пожарной и тревожной сигнализаций и средств связи должно соответствовать СП 5.13130, и .
12.18 Требования и нормы проектирования систем видеонаблюдения и контроля доступа в здания бассейнов приведены в .
12.19 Мероприятия по молниезащите зданий бассейнов приведены в .
12.20 Проектировать здания бассейнов следует согласно .
12.21 Требования эксплуатационной и конструктивной безопасности проектных решений зданий бассейнов приведены в .
13 Акустика
13.1 В помещениях ванн и подготовительных занятий время реверберации на частотах 500-2000 Гц следует принимать в пределах полосы, показанной на графике рисунка 13.1. На частотах ниже 500 Гц время реверберации допускается увеличивать на 15% - 20%.

13.2 Расчет акустического благоустройства залов бассейнов и подготовительных занятий, уровней звукового давления и эквивалентных уровней звука, дБА, должны проводиться по СП 51.13330.
13.3 Для предотвращения влияния внешних источников шума помещения для отдыха занимающихся, учебно-методические классы, помещения для медицинского обслуживания рекомендуется располагать на удалении от вентиляционных камер, насосных и других источников шума.
13.5 При проектировании залов с выпуклыми (купольными, сводчатыми, арочными) покрытиями для избежания концентраций отраженной звуковой энергии и фокусирования звука рекомендуется принимать радиус кривизны покрытия минимум в два раза большим высоты зала бассейна.
14 Автоматическое и звуковое оборудование ванн бассейнов
14.1 Автоматическое оборудование ванн бассейнов предназначается для автоматизации технологий проведения спортивных соревнований. При проведении физкультурно-оздоровительных занятий, автоматическое оборудование, как правило, не применяется.
14.2 Залы бассейна и подготовительных занятий рекомендуется оснащать устройствами для трансляции музыки и голосовых сообщений - для этого следует предусматривать помещение дикторской площадью 8-10 м 2 .
Приложение А
Назначение, размеры и расчетные показатели оздоровительных плавательных бассейнов
Таблица А.1
|
Виды бассейнов |
Для детей дошкольного возраста |
Оздоровительные |
|||||
|
Место применения и размещения |
дошкольные образовательные организации, детские медицинские учреждения |
общеобразовательные организации, детские санатории, лагеря отдыха, санатории и др. |
места проживания и массового отдыха граждан, спортивные центры системы культурно-бытового обслуживания населения |
||||
|
Назначение |
оздоровление и приобщение детей к воде |
обучение плаванию |
обучение спортивному плаванию |
оздоровительное плавание |
оздоровительные занятия |
||
|
Размеры ванн, м |
25x11 (стандартный) |
16х11 (укороченный) |
произвольные |
||||
|
Глубина, м | |||||||
|
Расчетная площадь водной поверхности, м 2 , на одного человека | |||||||
|
* Вариант значения Примечания 1 Значения глубины бассейна определяют уклон, который следует предусматривать по длине ванн бассейна. 2 Размеры и форма физкультурно-оздоровительных плавательных бассейнов уточняются заданием на проектирование. |
|||||||
Приложение Б
Параметры и пропускная способность ванн спортивных бассейнов
Таблица Б.1
|
Назначение ванны |
Размер ванны, м |
Глубина воды в глубокой части ванны, м |
Пропускная способность ванны в смену, чел. |
|
|
Плавание |
Исходя из уклона дна, принимаемого не менее 0, 01. Глубина 1, 8 м** | |||
|
Синхронное плавание | ||||
|
Водное поло |
Не менее 33, 3 |
Не менее 21 |
1, 8 (минимум) |
25 (80 для других целей) |
|
Прыжки в воду |
30 (максимум) |
|||
|
* Отклонение длины ванн (в том числе универсальных) допускается только в сторону увеличения в пределах до 0, 03 м. ** Рекомендуемая минимальная глубина для спортивного плавания. Для соревнований категории А глубина 2, 0 м (минимум). Уклон дна к местам выпуска воды в плавательных бассейнах следует принимать не менее 0, 01, но не более 0, 045; допускаются уклоны в поперечном направлении. *** Для соревнований категории А произвольной программы требуется зона минимальными размерами 30х12 м (глубина выделенной части 12x12 м - 3 м, глубина остальной части - 2, 5 м). Примечание - В скобках приведено значение меньшей ширины ванны и соответствующей ей пропускной способности. |
||||
Приложение В
Размеры платформы для прыжков в воду в зависимости от ее высоты
Таблица В.1
|
Высота над уровнем воды, м |
Ширина, м | |
Приложение Г
Ширина проходов между элементами оборудования в раздевальных и душевых
Таблица Г.1
|
Проходы между элементами оборудования |
Размер, м, не менее |
В раздевальных |
|
|
Между рядами скамей при сидении лицом друг к другу | |
|
Между рядом скамей и параллельной ему стеной или стоящим напротив рядом шкафов | |
|
Боковые проходы | |
|
Главные проходы | |
|
Между рядами шкафов для домашней одежды | |
|
В душевых Между фронтом душевых кабин и противоположной стеной | |
|
Между фронтами противоположных рядов душевых кабин | |
Приложение Д
Расчетное число санитарных приборов во вспомогательных помещениях
Таблица Д.1
|
Помещение, санитарные приборы |
Число санитарных приборов в помещении |
Примечание |
Санитарные узлы для занимающихся |
||
|
Один унитаз на 30 мест для переодевания, но не менее одного унитаза | ||
|
Один унитаз и один писсуар на 45 мест для переодевания, но не менее одного унитаза |
||
Санитарные узлы для сотрудников, инструкторов и тренеров |
||
|
Согласно СП 118.13330 |
При числе менее 20 единовременно работающих мужчин и женщин предусматривается общий санитарный узел на один унитаз |
|
Прочие помещения и оборудование |
||
|
Раздевальные для занимающихся |
Один умывальник на 30 мест для переодевания в раздевальной, но не менее одного |
Допускается размещать при уборных |
|
Комнаты инструкторского и тренерского состава, бытовые помещения для рабочих, помещения медсестры лаборатории анализа воды |
По одному умывальнику на каждое помещение | |
|
Раковины в тамбурах хлораторных и складах хлора |
Одна раковина в тамбуре | |
|
Мойки в помещениях уборочного инвентаря |
Одна мойка на помещение | |
Приложение Е
Набор помещений бассейнов по критериям необходимости
Таблица Е.1
|
Наименование помещения |
Вид бассейна |
|||
|
для детей дошкольного возраста |
оздоровительные |
|||
|
Выходная зона |
||||
|
Вестибюль | ||||
|
Гардеробная верхней одежды | ||||
|
Помещение охраны с видеонаблюдением | ||||
|
Игровая для детей | ||||
|
Контрольная зона |
||||
|
Регистратура | ||||
|
Выдача купальных принадлежностей | ||||
|
Зона раздевальных |
||||
|
Раздевальные | ||||
|
Гардеробная домашней одежды | ||||
|
Постирочная для купальных принадлежностей | ||||
|
Комната для сушки волос | ||||
|
Санитарная зона |
||||
|
Кладовая моющих средств | ||||
|
Зона плавания |
||||
|
Зал с ванными бассейна | ||||
|
Душевая с холодной водой | ||||
|
Зона помещений персонала |
||||
|
Комната первой медицинской помощи (дежурной медсестры) | ||||
|
Комната дежурного инструктора | ||||
|
Методический кабинет | ||||
|
Тренерская (помещение инструкторов) | ||||
|
Помещение персонала обслуживающего бассейна | ||||
|
Гардеробная для персонала | ||||
|
Зона дополнительных помещений |
||||
|
Зал подготовительных занятий | ||||
|
Радиоузел | ||||
|
Массажный кабинет | ||||
|
Зона вспомогательных помещений |
||||
|
Помещения для отдыха персонала | ||||
|
Кладовая уборочного инвентаря и оборудования | ||||
|
Мастерская | ||||
|
Химическая лаборатория | ||||
|
Помещения для хранения реагентов | ||||
|
Обозначения: "○" - необходимость помещений устанавливается заданием на проектирование; "●" - необходимость помещений предусматривается как правило; "-" - не предусматривается. Примечания - Состав технических помещений в зависимости от конкретных решений инженерных систем зданий бассейнов, принимается согласно действующим нормативным документам. |
||||
Приложение Ж
Состав и площади медико-восстановительного центра
В составе помещений бассейнов оздоровительного назначения по заданию на проектирование может предусматриваться медико-восстановительный центр.
Помещения медико-восстановительного центра располагают обособленной группой, удаленной от вентиляционных камер, насосных и других источников вибрации и шума.
Вес процедурные кабинеты должны быть с естественным освещением. Ширина коридоров медико-восстановительного центра должна быть не менее 2 м.
Помещения медико-восстановительного центра рекомендуется объединять в два блока:
I - водолечебные помещения и баня сухого жара с контрастной ванной и душевой;
II - кабинеты электросветолечения, тестов с физической нагрузкой, процедурная.
Кабинет врача и массажная могут примыкать к любому из этих блоков.
Помещения блока водных процедур должны быть непроходными и располагаться по возможности дальше от наружного входа в здание. Кабинет электросветолечения должен быть отделен от водолечебных помещений "сухим" помещением.
Кабинет электросветолечения оборудуется кабинами размерами 2, 2x1, 8-2 м с перегородками высотой 2 м. В каждой кабине устанавливается кушетка с подъемным изголовьем и устройством для местного освещения и один стационарный физиотерапевтический аппарат. Кабинет должен быть оборудован самостоятельным контуром заземления.
Блок водных процедур рекомендуется размещать на первом этаже. Полы помещений блока должны быть с уклоном не менее 0, 01 в сторону трапа. В душевом зале устанавливают душевую кабину и питаемые от нее душевые установки для циркулярного, дождевого, восходящего и струевого душей. Душевую кабину устанавливают так, чтобы при проведении струевого душа пациент находился от нее на расстоянии 3, 5-4, 0 м и на него падал прямой дневной свет. На высоте 1, 2-1, 5 м к стене прикрепляется металлический поручень. Душевые установки оборудуются в кабинах размерами в плане не менее 1x1 м, разделяемых перегородками высотой 2 м, не доходящими до пола на 10-15 см. Душевые кабины должны располагаться таким образом, чтобы медицинский персонал мог видеть пациентов.
Душевая кабина должна быть с подводкой горячей и холодной воды, при этом давление холодной и горячей воды должно быть одинаковым (2-2, 5 атм.). Для поддержания постоянного давления в насосной необходимо предусматривать емкости для холодной и горячей воды объемом не менее 3 м 3 каждая.
Помещение подводного душа-массажа должно быть шириной не менее 3, 5 м. К ванне размерами 2, 33x1, 85x0, 92 (h) должен быть обеспечен подход с трех сторон. Форсунки для душа-массажа располагаются в торце ванны.
Состав и площади помещений центра
Таблица Ж.1
|
Наименование помещений |
Значение площади, м 2 |
|
Кабинет врача (заведующего центром) | |
|
Кабинет электро- и светолечения: | |
|
Семь кабин по одной кушетке в каждой | |
|
Помещение для обработки прокладок | |
|
Душевой зал: | |
|
Кафедра на 5 душевых установок | |
|
Раздевальная при зале | |
|
Насосная кафедра | |
|
Подводный душ-массаж: | |
|
Комната с ванной | |
|
Кабина для раздевания | |
|
Кабинет для проведения тестов с физической нагрузкой (велоэргометрия, спироэргометрия и др.) | |
|
Процедурная для инъекций | |
|
Комната для отдыха (в креслах) | |
|
Кладовая предметов уборки и грязного белья | |
|
Комната персонала | |
|
Санитарный узел: | |
|
Мужской (один унитаз, один писсуар с умывальником в шлюзе) | |
|
Женский (два унитаза с умывальником в шлюзе) |
Приложение И
Температура воздуха и кратность воздухообмена в помещениях бассейнов
Таблица И.1
|
Наименование помещения |
Расчетная температура воздуха, °С |
Кратность обмена воздуха в 1 ч |
|
|
1 Залы ванн бассейнов |
На 1°С - 2°С выше температуры воды в ванне |
По расчету, но не менее 80 м 3 /ч наружного воздуха на одного занимающегося и не менее 20 м 3 /ч на одного зрителя |
|
|
2 Залы для подготовительных занятий |
По расчету, но не менее 80 м 3 /ч на одного занимающегося |
||
|
3 Вестибюли для занимающихся | |||
|
4 Гардеробная верхней одежды для занимающихся и зрителей (обособленная от вестибюля) | |||
|
5 Раздевальные |
Аналогично душевых |
2 (из душевых) |
|
Библиография
Федеральный закон от 22 июля 2008 г. N 123-ФЗ "Технический регламент о требованиях пожарной безопасности"
Федеральный закон от 23 ноября 2009 г. N 261-ФЗ "Об энергосбережении и о повышении энергетической эффективности и о внесении изменений в отдельные законодательные акты Российской Федерации"
Федеральный закон от 30 декабря 2009 г. N 384-ФЗ "Технический регламент о безопасности зданий и сооружений"
Приказ Министерства спорта Российской Федерации от 25 февраля 2016 г. N 172 "Об утверждении классификатор объектов спорта"
СП 31-110-2003 Проектирование и монтаж электроустановок жилых и общественных зданий
Правила устройства электроустановок ПУЭ
СО 153-34.21.122-2003 Инструкция по устройству молниезащиты зданий, сооружений и промышленных коммуникаций
РД 78.35.003-2002 Инженерно-техническая укрепленность. Технические средства охраны. Требования и нормы проектирования по защите объектов от преступных посягательств
СанПиН 2.1.2.1188-03
Постановление Главного государственного санитарного врача РФ
"О введении в действие СанПиН 2.1.2.1188-03"
На основании Федерального закона "О санитарно-эпидемиологическом благополучии населения" от 30 марта 1999 г. N 52-ФЗ* и Положения о государственном санитарно-эпидемиологическом нормировании, утвержденного постановлением Правительства Российской Федерации от 24 июля 2000 г. N 554**, постановляю:
Ввести в действие санитарно-эпидемиологические правила и нормативы "Плавательные бассейны. Гигиенические требования к устройству, эксплуатации и качеству воды. Контроль качества. СанПиН 2.1.2.1188-03", утвержденные Главным государственным санитарным врачом Российской Федерации 29 января 2003 года, с 1 мая 2003 г.
Главный государственный санитарный врач
______________________________
* Собрание законодательства Российской Федерации, 1999, N 14, ст.1650.
** Собрание законодательства Российской Федерации, 2000, N 31, ст.3295.
Зарегистрировано в Минюсте РФ 14 февраля 2003 г.
Регистрационный N 4219
Санитарно-эпидемиологические правила и нормативы СанПиН 2.1.2.1188-03
"2.1.2. Проектирование, строительство и эксплуатация жилых зданий, предприятий коммунально-бытового обслуживания, учреждений образования, культуры, отдыха, спорта.
Плавательные бассейны. Гигиенические требования к устройству, эксплуатации и качеству воды. Контроль качества"
(утв. Главным государственным санитарным врачом РФ 29 января 2003 г.)
Дата введения 1 мая 2003 г.
II. Гигиенические требования к проектированию и строительству плавательных бассейнов
Таблица N 1. Виды бассейнов и санитарно-гигиенические требования к их устройству
Приложение N 1. Программное осуществление государственного санитарно-эпидемиологического надзора за эксплуатацией плавательных бассейнов
Приложение N 2. Заболевания инфекционной природы, которые могут передаваться через воду плавательных бассейнов
Приложение N 3. Рекомендуемые обеззараживающие средства и дезинфицирующие препараты
I. Общие положения и область применения
1.1. Настоящие государственные санитарно-эпидемиологические правила и нормативы (далее - санитарные правила) разработаны на основании Федерального закона "О санитарно-эпидемиологическом благополучии населения" от 30 марта 1999 г. N 52-ФЗ (Собрание законодательства Российской Федерации, 1999, N 14, ст.1650), постановления Правительства Российской Федерации от 24 июля 2000 г. N 554 "Об утверждении Положения о государственной санитарно-эпидемиологической службе Российской Федерации и Положения о государственном санитарно-эпидемиологическом нормировании" (Собрание законодательства Российской Федерации, 2000, N 31, ст.3295).
2.1. При выборе земельного участка для размещения плавательных бассейнов, привязке типовых проектов, а также проектировании, строительстве и реконструкции бассейнов должны соблюдаться требования настоящих санитарных правил.
2.2. Плавательные бассейны со вспомогательными помещениями для их обслуживания могут размещаться в отдельно стоящих зданиях, а также быть пристроенными (или встроенными) в здания гражданского назначения в соответствии с действующими строительными нормами и правилами.
2.3. При устройстве открытых бассейнов озеленение площади отведенного участка принимается не менее, чем на 35% кустарником или низкорослыми деревьями. По периметру участка предусматриваются ветро- и пылезащитные полосы древесных и кустарниковых насаждений шириной не менее 5 м со стороны проездов местного значения и не менее 20 м - со стороны магистральных дорог с интенсивным движением.
Удаление ванн открытого бассейна от красной линии принимается не менее 15 метров; от территории больниц, детских школьных и дошкольных учреждений, а также жилых домов и автостоянок - не менее 100 м.
2.4. Санитарно-гигиенические требования к устройству бассейнов в соответствии с их назначением указаны в таблице 1.
2.5. Внутренняя планировка основных помещений бассейна должна соответствовать гигиеническому принципу поточности: продвижение посетителей осуществляется по функциональной схеме - гардероб, раздевальня, душевая, ножная ванна, ванна бассейна. При этом необходимо разделение зоны "босых" и "обутых" ног, для чего рекомендуется устраивать в раздевальне проходные кабины для переодевания с двумя входами (выходами), а также должно быть предусмотрено, чтобы посетитель не мог пройти к ванне, минуя душевую.
2.6. Требования к вспомогательным помещениям.
2.6.1. Санузлы размещаются при раздевальнях: в женских санузлах предусматривается 1 унитаз не более, чем на 30 человек, в мужских - 1 унитаз и 1 писсуар не более, чем на 45 человек в смену.
2.6.2. Душевые необходимо предусматривать проходными и располагать на пути движения из раздевальни к обходной дорожке; душевые устраиваются из расчета 1 душевая сетка на 3-х человек в смену.
2.6.3. В раздевальнях или смежных с ними помещениях устанавливаются сушки для волос (фены) из расчета 1 прибор на 10 мест - для женщин и 1 прибор на 20 мест - для мужчин в смену.
2.6.4. Не допускается располагать санитарные узлы и душевые над помещениями для приготовления и хранения коагулирующих и дезинфицирующих растворов.
2.7. На пути движения от душа к ванне бассейна должны размещаться ножные ванны с проточной водой, размеры которых исключают возможность их обхода или перепрыгивания: по ширине они должны занимать весь проход, по направлению движения - иметь длину не менее 1,8 м, глубину - 0,1 - 0,15 м, дно ванн не должно быть скользким.
В ножные ванны должна подаваться очищенная и обеззараженная вода из системы водоподготовки бассейна или системы питьевого водоснабжения.
Допускается отсутствие ножных ванн при непосредственном выходе из душевых на обходную дорожку бассейна.
2.8. Выплывы при выходе из душевых в ванны открытых бассейнов устраиваются в боковой части продольной стены с мелкой стороны ванны. Ширина выплыва 1,8-2,2 м, глубина воды 0,9-1,0 м - для взрослых и 0,6-0,7 м - для детей. Над выплывом предусматривается затвор, предохраняющий помещения от холодного воздуха. Нижняя кромка затвора должна быть обрамлена эластичными материалами, препятствующими поступлению холодного воздуха, и опускаться в воду на 10-15 см. Выплывы должны быть оборудованы в виде тамбура и защищены от возможного поступления воды из душевых.
2.9. Обходные дорожки и стационарные скамьи должны обогреваться. Поверхность обходных дорожек должна быть не скользкой и иметь уклон 0,01-0,02 в сторону трапов.
2.10. Для удаления загрязненного верхнего слоя воды в стенках ванн должны предусматриваться переливные желоба (пенные корытца) или другие технические переливные устройства (скиммеры).
2.11. Для покрытия обходных дорожек, стен и дна ванн должны использоваться материалы, устойчивые к применяемым реагентам и дезинфектантам и позволяющие проводить качественную механическую чистку и дезинфекцию, с учетом п.1.4. настоящих Санитарных правил. Швы между облицовочными плитами должны тщательно затираться.
Использование деревянных трапов в душевых и гардеробных не допускается.
2.12. В составе помещений плавательного бассейна спортивного и спортивно-оздоровительного назначения должны быть предусмотрены комната для медицинского персонала с выходом на обходную дорожку и помещение производственной лаборатории для проведения анализов.
2.13. Для бассейнов с морской водой выбор места водозабора должен проводиться с учетом санитарной ситуации и качества воды на участках моря, которые находятся вне влияния источников загрязнения - выпусков ливневых и сточных вод, выносов рек, загрязнений от портов и причалов, пляжей и т.п. При этом оголовок водозабора должен быть на высоте не менее 2-х метров от донной поверхности с подачей морской воды из средних слоев.
2.14. Плавательные бассейны должны оборудоваться системами, обеспечивающими водообмен в ваннах бассейна.
По характеру водообмена допускаются к эксплуатации следующие типы бассейнов:
- бассейны рециркуляционного типа;
- бассейны проточного типа;
- бассейны с периодической сменой воды.
2.15. Очистка и обеззараживание воды в бассейнах рециркуляционного типа осуществляется методами, включающими фильтрацию (с коагулянтом или без него) и ввод обеззараживающего агента.
Допускается применение других методов очистки воды, обеспечивающих требуемое качество воды, после получения положительного санитарно-эпидемиологического заключения.
2.16. Сооружения для очистки, обеззараживания и распределения воды могут располагаться в основном или отдельно стоящем здании. Последовательное включение в единую систему водоподготовки двух или более ванн не допускается.
Озонаторная установка должна иметь дегазатор для нейтрализации непрореагировавшего озона, выбрасываемого в атмосферу.
2.17. Системы, обеспечивающие водообмен в ваннах бассейна, должны быть оборудованы расходомерами или иными приборами, позволяющими определить количество рециркуляционной воды, подаваемой в ванну, а также количество свежей водопроводной воды, поступающей в ванну бассейна рециркуляционного или проточного типа.
2.18. Система подачи воды в ванны должна обеспечивать равномерное распределение ее по всему объему для поддержания постоянства температуры воды и концентрации дезинфектантов. Кроме того, указанная система должна быть оборудована кранами для отбора проб воды для исследования по этапам водоподготовки:
- поступающей - в бассейнах всех типов;
- до и после фильтров - в бассейнах рециркуляционного типа;
- после обеззараживания перед подачей воды в ванну.
2.19. Отвод воды из ванн плавательных бассейнов на рециркуляцию может осуществляться как через переливные технические устройства, так и через отверстия в дне, располагаемые в глубокой и мелкой частях ванн. Расчетную скорость движения воды в отводящих отверстиях, перекрытых решетками, следует принимать 0,4-0,5 м/секунду.
2.20. Сброс загрязненной воды из ванн плавательных бассейнов, а также от промывки фильтров, а также из переливных желобов, от ножных ванн, с обходных дорожек и от мытья стенок и дна ванн бассейнов должен осуществляться в канализацию. При отсутствии централизованной системы канализации указанная вода может быть отведена в водный объект при наличии положительного санитарно-эпидемиологического заключения.
2.21. Присоединение ванн бассейнов к канализационным трубопроводам должно исключать возможность обратного попадания стока и запаха из канализации в ванны, для этого трубопроводы должны иметь воздушные разрывы перед гидравлическим затвором.
2.22. Для залов ванн бассейнов, залов для подготовительных занятий, помещений насосно-фильтровальной, хлораторной и озонаторной необходимо предусматривать самостоятельные системы приточной и вытяжной вентиляции. Пульты для включения систем вентиляции, обслуживающих хлораторную и озонаторную, должны быть вне помещений, где они расположены.
2.23. Во избежание образования холодных потоков воздуха от окон приборы отопления следует располагать под ними и у наружных стен. Приборы и трубопроводы отопления, расположенные в залах подготовительных занятий на высоте до 2,0 м от пола, должны быть защищены решетками или панелями, не выступающими из плоскости стен и допускающими уборку их влажным способом.
III. Гигиенические требования к режиму эксплуатации плавательных бассейнов
IV. Требования к качеству воды
V. Производственный контроль за эксплуатацией плавательных бассейнов
Таблица N 1. Виды бассейнов и санитарно-гигиенические требования к их устройству
Виды бассейнов (назначение) | Площадь зеркала воды, м 2 | Температура воды,°С | Площадь зеркала воды на 1 человека в м 2 , не менее | Время полного водообмена, час, не более |
Спортивные | до 1000 | 24-28 | ||
более 1000 | 10,0 | |||
Оздоровительные | до 400 | 26-29 | ||
более 400 | ||||
Детские учебные: | ||||
Дети до 7 лет | до 60 | 30-32 | ||
Дети старше 7 лет | до 100 | 29-30 | ||
Охлаждающие | до 10 | до 12 °С |
Примечания:
1. Глубина бассейнов для детей до 7 лет должна быть не более 0,6 м.
2. Указанное время полного водообмена не относится к бассейнам проточного типа с пресной водой.
3. Температура воды в открытых бассейнах должна поддерживаться летом на уровне 27°С, зимой - 28°С.
Таблица N 2. Гигиенические требования к параметрам микроклимата основных помещений закрытых плавательных бассейнов
|
Назначение помещения |
Температура воздуха,°С |
Относительная влажность, % |
Параметры воздухообмена в 1 час |
Скорость движения воздуха, м/сек |
|
|
Залы ванн бассейнов |
На 1°-2° выше температуры воды |
Не менее 80 м 3 /час на 1 занимающегося и не менее 20 м 3 /час на 1 зрителя |
Не более 0,2 |
||
|
Залы подготовки занятий |
Не менее 80 м 3 /час на 1 занимающегося |
Не более 0,5 |
|||
|
Кратность воздухообмена в 1 час | |||||
|
Раздевальни |
По балансу с учетом душевых |
2 (из душевых) |
Не нормируется |
||
|
Массажные | |||||
|
Камера сауны |
Не более 120 |
5 (периодического действия при отсутствии людей) | |||
Таблица N 3. Показатели и нормативы качества воды в ванне бассейна (в процессе эксплуатации)
|
Показатели |
Нормативы |
|
|
Физико-химические показатели | ||
|
Мутность, мг/л |
Не более 2 |
|
|
Цветность, градусы |
Не более 20 |
|
|
Запах, баллы |
Не более 3 |
|
|
Хлориды (при обеззараживании воды гипохлоритом натрия, получаемым электролизом поваренной соли), мг/л |
Не более 700 |
|
|
Остаточный свободный хлор (при хлорировании), мг/л |
Не менее 0,3 - не более 0,5 |
|
|
Остаточный бром (при бромировании), мг/л | ||
|
Остаточный озон (при озонировании), мг/л |
Не более 0,1 (перед поступлением в ванну бассейна) |
|
|
отсутствие
2. При совместном применении УФ-излучения и хлорирования или озонирования и хлорирования содержание свободного остаточного хлора должно находиться в пределах 0,1-0,3 мг/л. 3. В бассейнах с морской водой хлориды не нормируются. 4. Допускается повышение свободного остаточного хлора в особых случаях по эпидпоказаниям до 0,7 мг/л. 5. Методы определения показателей изложены в соответствующих государственных стандартах и методических указаниях Минздрава России. Для контроля физико-химических показателей допускается использование аналитических экспресс-методов с чувствительностью не ниже указанных нормативных величин. 6. При содержании в воде остаточного свободного хлора более 0,3 мг/л рекомендуется защита глаз посетителей бассейна очками для плавания.
|
Министерство здравоохранения Российской Федерации
ГЛАВНЫЙ ГОСУДАРСТВЕННЫЙ САНИТАРНЫЙ ВРАЧ РОССИЙСКОЙ ФЕДЕРАЦИИ
ПОСТАНОВЛЕНИЕ
О введении в действие СанПиН 2.1.2.1188-03
На основании * и Положения
о государственном санитарно-эпидемиологическом нормировании ,
утвержденного постановлением
Правительства Российской Федерации от 24 июля 2000 года N
554 **,
_______________
*
Собрание законодательства Российской Федерации, 1999, N 14,
ст.1650.
** Собрание
законодательства Российской Федерации, 2000, N 31, ст.3295.
постановляю:
Ввести в действие
санитарно-эпидемиологические правила и нормативы "Плавательные
бассейны. Гигиенические требования к устройству, эксплуатации и
качеству воды. Контроль качества. СанПиН 2.1.2.1188-03",
утвержденные Главным государственным санитарным врачом Российской
Федерации 29 января 2003 года, с 1 мая 2003 года.
Г.Г.Онищенко
Зарегистрировано
в Министерстве юстиции
Российской Федерации
14 февраля 2003 года,
регистрационный N 4219
Санитарно-эпидемиологические правила и нормативы СанПиН 2.1.2.1188-03. Плавательные бассейны. Гигиенические требования к устройству, эксплуатации и качеству воды. Контроль качества
УТВЕРЖДАЮ
Главный государственный санитарный
врач Российской Федерации -
Первый заместитель Министра
здравоохранения Российской
Федерации
Г.Г.Онищенко
29 января 2003 года
2.1.2. ПРОЕКТИРОВАНИЕ, СТРОИТЕЛЬСТВО И ЭКСПЛУАТАЦИЯ ЖИЛЫХ ЗДАНИЙ, ПРЕДПРИЯТИЙ КОММУНАЛЬНО-БЫТОВОГО ОБСЛУЖИВАНИЯ, УЧРЕЖДЕНИЙ ОБРАЗОВАНИЯ, КУЛЬТУРЫ, ОТДЫХА, СПОРТА
Плавательные бассейны.
Гигиенические требования к устройству, эксплуатации и качеству
воды.
Контроль качества
Санитарно-эпидемиологические правила и нормативы СанПиН 2.1.2.1188-03
I. Общие положения и область применения
1.1. Настоящие
государственные санитарно-эпидемиологические правила и нормативы
(далее - санитарные правила) разработаны на основании Федерального
закона "О санитарно-эпидемиологическом благополучии населения" от
30 марта 1999 года N 52-ФЗ (Собрание законодательства
Российской Федерации, 1999, N 14, ст.1650), постановления
Правительства Российской Федерации от 24 июля 2000 года N 554 "Об
утверждении Положения о государственной
санитарно-эпидемиологической службе Российской Федерации и
Положения о государственном санитарно-эпидемиологическом
нормировании" (Собрание законодательства Российской Федерации,
2000, N 31, ст.3295).
Санитарные правила
распространяются на действующие, реконструируемые и строящиеся
плавательные бассейны спортивно-оздоровительного назначения, в том
числе на открытые, на бассейны при школьных, дошкольных и
оздоровительных учреждениях, банных комплексах и саунах, а также на
бассейны с морской водой, вне зависимости от ведомственной
принадлежности и форм собственности.
Санитарные правила не
распространяются на бассейны медицинского назначения, где
проводятся лечебные процедуры или требуется вода специального
минерального состава, а также на судовые плавательные бассейны.
1.2. Санитарные правила
предназначены для юридических лиц и индивидуальных
предпринимателей, осуществляющих проектирование, строительство,
реконструкцию и эксплуатацию плавательных бассейнов, а также для
органов и учреждений санитарно-эпидемиологической службы,
осуществляющих государственный санитарно-эпидемиологический
надзор.
1.4. Реагенты и
дезинфицирующие средства, а также конструкционные и отделочные
материалы допускаются к использованию только при наличии положительного
санитарно-эпидемиологического заключения, выданного в установленном
порядке.
В
процессе эксплуатации плавательного бассейна остаточное содержание
(концентрация) химических веществ в воде и воздухе (зоне дыхания)
не должно превышать гигиенические нормативы.
1.5. Ввод в эксплуатацию
вновь построенных или реконструированных плавательных бассейнов, а
также подвергшихся перепланировке или переоборудованию,
допускается при наличии положительного заключения органов
государственного санитарно-эпидемиологического надзора.
1.6. Ответственными за
соблюдение настоящих санитарных правил и проведение
производственного контроля являются руководители организаций,
эксплуатирующих плавательные бассейны, независимо от их
ведомственной принадлежности и форм собственности.
II. Гигиенические требования к проектированию и строительству плавательных бассейнов
2.1. При выборе
земельного участка для размещения плавательных бассейнов, привязке
типовых проектов, а также проектировании, строительстве и
реконструкции бассейнов должны соблюдаться требования настоящих
санитарных правил.
2.2. Плавательные
бассейны со вспомогательными помещениями для их обслуживания могут
размещаться в отдельно стоящих зданиях, а также быть пристроенными
(или встроенными) в здания гражданского назначения в соответствии с
действующими строительными нормами и правилами.
2.3. При устройстве
открытых бассейнов озеленение площади отведенного участка
принимается не менее чем на 35% кустарником или низкорослыми
деревьями. По периметру участка предусматриваются ветро- и
пылезащитные полосы древесных и кустарниковых насаждений шириной не
менее 5 м со стороны проездов местного значения и не менее 20 м -
со стороны магистральных дорог с интенсивным движением.
Удаление ванн открытого
бассейна от красной линии принимается не менее 15 метров; от
территории больниц, детских школьных и дошкольных учреждений, а
также жилых домов и автостоянок - не менее 100 м.
2.4.
Санитарно-гигиенические требования к устройству бассейнов в
соответствии с их назначением указаны в таблице 1.
2.5. Внутренняя
планировка основных помещений бассейна должна соответствовать
гигиеническому принципу поточности: продвижение посетителей
осуществляется по функциональной схеме - гардероб, раздевальня,
душевая, ножная ванна, ванна бассейна. При этом необходимо
разделение зоны "босых" и "обутых" ног, для чего рекомендуется
устраивать в раздевальне проходные кабины для переодевания с двумя
входами (выходами), а также должно быть предусмотрено, чтобы
посетитель не мог пройти к ванне, минуя душевую.
2.6. Требования к
вспомогательным помещениям.
2.6.1. Санузлы
размещаются при раздевальнях: в женских санузлах предусматривается
1 унитаз не более чем на 30 человек, в мужских - 1 унитаз и 1
писсуар не более чем на 45 человек в смену.
2.6.2. Душевые необходимо
предусматривать проходными и располагать на пути движения из
раздевальни к обходной дорожке; душевые устраиваются из расчета 1
душевая сетка на 3 человек в смену.
2.6.3. В раздевальнях или
смежных с ними помещениях устанавливаются сушки для волос (фены) из
расчета 1 прибор на 10 мест - для женщин и 1 прибор на 20 мест -
для мужчин в смену.
2.6.4. Не допускается
располагать санитарные узлы и душевые над помещениями для
приготовления и хранения коагулирующих и дезинфицирующих
растворов.
2.7. На пути движения от
душа к ванне бассейна должны размещаться ножные ванны с проточной
водой, размеры которых исключают возможность их обхода или
перепрыгивания: по ширине они должны занимать весь проход, по
направлению движения иметь длину не менее 1,8 м, глубину - 0,1-
0,15 м, дно ванн не должно быть скользким.
В
ножные ванны должна подаваться очищенная и обеззараженная вода из
системы водоподготовки бассейна или системы питьевого
водоснабжения.
Допускается отсутствие
ножных ванн при непосредственном выходе из душевых на обходную
дорожку бассейна.
2.8. Выплывы при выходе
из душевых в ванны открытых бассейнов устраиваются в боковой части
продольной стены с мелкой стороны ванны. Ширина выплыва 1,8-2,2 м,
глубина воды 0,9-1,0 м - для взрослых и 0,6-0,7 м - для детей. Над
выплывом предусматривается затвор, предохраняющий помещения от
холодного воздуха. Нижняя кромка затвора должна быть обрамлена
эластичными материалами, препятствующими поступлению холодного
воздуха, и опускаться в воду на 10-15 см. Выплывы должны быть
оборудованы в виде тамбура и защищены от возможного поступления
воды из душевых.
2.9. Обходные дорожки и
стационарные скамьи должны обогреваться. Поверхность обходных
дорожек должна быть не скользкой и иметь уклон 0,01-0,02 в сторону
трапов.
2.10. Для удаления
загрязненного верхнего слоя воды в стенках ванн должны
предусматриваться переливные желоба (пенные корытца) или другие
технические переливные устройства (скиммеры).
2.11. Для покрытия
обходных дорожек, стен и дна ванн должны использоваться материалы,
устойчивые к применяемым реагентам и дезинфектантам и позволяющие
проводить качественную механическую чистку и дезинфекцию, с учетом
п.1.4 настоящих Санитарных правил. Швы между облицовочными плитами
должны тщательно затираться.
Использование деревянных
трапов в душевых и гардеробных не допускается.
2.12. В составе помещений
плавательного бассейна спортивного и спортивно-оздоровительного
назначения должны быть предусмотрены комната для медицинского
персонала с выходом на обходную дорожку и помещение
производственной лаборатории для проведения анализов.
2.13. Для бассейнов с
морской водой выбор места водозабора должен проводиться с учетом
санитарной ситуации и качества воды на участках моря, которые
находятся вне влияния источников загрязнения - выпусков ливневых и
сточных вод, выносов рек, загрязнений от портов и причалов, пляжей
и т.п. При этом оголовок водозабора должен быть на высоте не менее
2 метров от донной поверхности с подачей морской воды из средних
слоев.
2.14. Плавательные
бассейны должны оборудоваться системами, обеспечивающими водообмен
в ваннах бассейна.
По характеру водообмена
допускаются к эксплуатации следующие типы бассейнов:
-
бассейны рециркуляционного типа;
-
бассейны проточного типа;
-
бассейны с периодической сменой воды.
2.15. Очистка и
обеззараживание воды в бассейнах рециркуляционного типа
осуществляется методами, включающими фильтрацию (с коагулянтом или
без него) и ввод обеззараживающего агента.
Допускается применение
других методов очистки воды, обеспечивающих требуемое качество
воды, после получения положительного санитарно-эпидемиологического
заключения.
2.16. Сооружения для
очистки, обеззараживания и распределения воды могут располагаться в
основном или отдельно стоящем здании. Последовательное включение в
единую систему водоподготовки двух или более ванн не
допускается.
Озонаторная установка
должна иметь дегазатор для нейтрализации непрореагировавшего озона,
выбрасываемого в атмосферу.
2.17. Системы,
обеспечивающие водообмен в ваннах бассейна, должны быть оборудованы
расходомерами или иными приборами, позволяющими определить
количество рециркуляционной воды, подаваемой в ванну, а также
количество свежей водопроводной воды, поступающей в ванну бассейна
рециркуляционного или проточного типа.
2.18. Система подачи воды
в ванны должна обеспечивать равномерное распределение ее по всему
объему для поддержания постоянства температуры воды и концентрации
дезинфектантов. Кроме того, указанная система должна быть
оборудована кранами для отбора проб воды для исследования по этапам
водоподготовки:
-
поступающей - в бассейнах всех типов;
До и после фильтров - в бассейнах рециркуляционного типа;
-
после обеззараживания перед подачей воды в ванну.
2.19. Отвод воды из ванн
плавательных бассейнов на рециркуляцию может осуществляться как
через переливные технические устройства, так и через отверстия в
дне, располагаемые в глубокой и мелкой частях ванн. Расчетную
скорость движения воды в отводящих отверстиях, перекрытых
решетками, следует принимать 0,4-0,5 м/сек.
2.20. Сброс загрязненной
воды из ванн плавательных бассейнов, а также от промывки фильтров,
а также из переливных желобов, от ножных ванн, с обходных дорожек и
от мытья стенок и дна ванн бассейнов должен осуществляться в
канализацию. При отсутствии централизованной системы канализации
указанная вода может быть отведена в водный объект при наличии
положительного санитарно-эпидемиологического заключения.
2.21. Присоединение ванн
бассейнов к канализационным трубопроводам должно исключать
возможность обратного попадания стока и запаха из канализации в
ванны, для этого трубопроводы должны иметь воздушные разрывы перед
гидравлическим затвором.
2.22. Для залов ванн
бассейнов, залов для подготовительных занятий, помещений
насосно-фильтровальной, хлораторной и озонаторной необходимо
предусматривать самостоятельные системы приточной и вытяжной
вентиляции. Пульты для включения систем вентиляции, обслуживающих
хлораторную и озонаторную, должны быть вне помещений, где они
расположены.
2.23. Во избежание
образования холодных потоков воздуха от окон приборы отопления
следует располагать под ними и у наружных стен. Приборы и
трубопроводы отопления, расположенные в залах подготовительных
занятий на высоте до 2,0 м от пола, должны быть защищены решетками
или панелями, не выступающими из плоскости стен и допускающими
уборку их влажным способом.
III. Гигиенические требования к режиму эксплуатации плавательных бассейнов
3.1. Для обеспечения
соответствующего гигиеническим требованиям качества воды бассейнов
необходимо обновление воды в ваннах.
Ванна должна наполняться
до края переливных желобов, использование ее при неполном
заполнении не допускается.
3.2. Допустимая нагрузка
на бассейн в единицу времени (пропускная способность человек в
смену) должна определяться исходя из нормативных требований к
площади зеркала воды на 1 человека в соответствии с видом бассейна
по таблице N 1.
3.3. При рециркуляционном
водообмене осуществляется очистка, обеззараживание воды и
добавление непрерывно во время работы бассейна свежей водопроводной
воды не менее чем 50 литров на каждого посетителя в сутки.
При озонировании воды
допускается добавление свежей воды не менее чем 30 литров на
каждого посетителя в сутки.
3.4. При рециркуляционном
водообмене рециркуляционный расход должен быть не менее 2
м/час на каждого посетителя при хлорировании
и бромировании, 1,8 м/час - при УФ-излучении и не менее 1,6
м/час - при озонировании. При этом время
полного водообмена и количество посетителей должны рассчитываться в
соответствии с таблицей N 1.
3.5. В малых бассейнах с
площадью зеркала воды не более 100 м (при школьных, дошкольных и оздоровительных
учреждениях, банных комплексах, саунах и др.) водообмен допускается
осуществлять непрерывным протоком водопроводной воды, при этом
время полной смены воды (водообмена) в ваннах для детей должно
приниматься не более 8 часов, а в остальных ваннах - не более 12
часов.
При невозможности
обеспечения непрерывного протока водопроводной воды должна
проводиться ежедневная полная смена воды в ваннах бассейнов
школьных и дошкольных учреждений, а также малых бассейнов в саунах
и банных комплексах.
3.6. В детских летних
оздоровительных учреждениях сезонного типа при отсутствии
водопроводной воды питьевого качества в надлежащем количестве по
согласованию с органами госсанэпиднадзора допускается устройство
бассейнов с периодическим наполнением из поверхностного или
подземного источников, а также морской водой, при соблюдении
требований, указанных в п.3.5 и п.4.4 настоящих санитарных
правил.
3.7. Организация
перерывов между сменами, их необходимость и продолжительность
решаются по согласованию с местными органами госсанэпиднадзора в
зависимости от качества воды в ванне бассейна, количества
посетителей и соблюдения ими правил личной гигиены (душ),
санитарного состояния помещений, регулярности и качества уборки и
др.
Ухудшение качества воды в
ванне бассейна при отсутствии перерывов требует срочного принятия
административных мер по повышению контроля за:
-
уборкой и дезинфекцией помещений;
-
обеззараживанием воды;
-
соответствием количества посетителей требованиям таблицы N 1 и
соблюдением ими правил личной гигиены и т.д.
Если указанные меры не
привели к улучшению качества воды в ванне бассейна, то необходимо
введение перерывов между сменами с оптимальной
продолжительностью.
3.8. Обеззараживание
воды.
3.8.1. Обеззараживание
воды, поступающей в ванны плавательных бассейнов, должно быть
обязательным для всех бассейнов рециркуляционного типа, а также для
проточных бассейнов с морской водой.
3.8.2. Для бассейнов
спортивного и спортивно-оздоровительного назначения в качестве
основных методов обеззараживания воды могут быть использованы
озонирование, хлорирование, бромирование, а также ультрафиолетовое
излучение с дозой не менее 16 мДж/см вне зависимости от типа установки; для
повышения надежности обеззараживания целесообразно комбинирование
химических методов с УФ-излучением.
При хлорировании воды
водородный показатель (рН) должен быть не более 7,8.
Учитывая опасность для
здоровья побочных продуктов хлорирования (галогеносодержащих
соединений), следует отдавать предпочтение альтернативным методам
обеззараживания.
3.8.3. Использование
других методов обеззараживания, не указанных в п.3.8.2, допускается
в том случае, если надежность и безопасность их обоснована
специальными технологическими и гигиеническими исследованиями после
получения положительного санитарно-эпидемиологического
заключения.
3.8.4. Для бассейнов с
непрерывным протоком воды рекомендуется использование физических
методов обеззараживания (в частности, ультрафиолетового
излучения).
Допускается без
дополнительного обеззараживания эксплуатация бассейнов проточного
типа с водой, поступающей из централизованной системы питьевого
водоснабжения, а также бассейнов, указанных в п.3.5, если качество
воды в ванне по микробиологическим показателям соответствует
требованиям таблицы N 3 настоящих Санитарных правил.
3.8.5. При хлорировании и
бромировании воды концентрированный раствор дезинфектанта добавляют
в воду: при проточной системе - в подающий трубопровод, при
рециркуляционной - перед фильтрами или после фильтров (в
зависимости от принятой схемы и результатов апробации), а при
обеззараживании озоном или УФ-излучением - после фильтров. Рабочая
доза обеззараживающего реагента определяется опытным путем из
расчета постоянного поддержания остаточной его концентрации в
соответствии с таблицей N 3.
3.8.6. В период
продолжительного перерыва в работе бассейна (более 2 часов)
допускается повышенное содержание обеззараживающих веществ в воде
ванн до следующих остаточных концентраций: 1,5 мг/л - свободного
хлора, 2,0 мг/л - связанного хлора, 2,0 мг/л - брома и 0,5 мг/л
- озона. К началу приема посетителей остаточное содержание
указанных обеззараживающих веществ не должно превышать уровней,
приведенных в таблице N 3.
3.9. Требования к уборке
и дезинфекции помещений и ванн.
3.9.1. Ежедневная уборка
должна проводиться в конце рабочего дня. Необходимость уборки в
перерывах между сменами устанавливается в соответствии с
требованиями п.3.7 настоящих Санитарных правил.
Ежедневной дезинфекции
подлежат помещения туалета, душевых, раздевальни, обходные дорожки,
скамейки, дверные ручки и поручни. График уборки и дезинфекции
утверждается администрацией бассейна.
3.9.2. Генеральная уборка
с профилактическим ремонтом и последующей дезинфекцией проводится
не реже 1 раза в месяц.
Дезинсекционные и
дератизационные мероприятия осуществляются специализированными
службами на основании заявок или договоров.
3.9.3. Санитарная
обработка ванны, включающая полный слив воды, механическую чистку и
дезинфекцию, проводится в сроки, согласованные с органами
госсанэпиднадзора.
Дезинфекция ванны
бассейна, проводимая после слива воды и механической чистки,
осуществляется методом двукратного орошения с расходом
дезинфектанта 0,6-0,8 л/м и концентрацией раствора 100 мг/л
активного хлора. Смыв дезинфицирующего раствора производится теплой
водой не ранее чем через 1 час после его нанесения.
Для борьбы с обрастанием
стенок ванн бассейна (преимущественно открытых) и облегчения их
чистки может проводиться периодическое добавление в воду ванн
раствора медного купороса (сульфата меди) с концентрацией 1,0-5,0
мг/л или другими разрешенными для этой цели реагентами согласно
п.1.4 настоящих Санитарных правил.
Дезинфекция ванн может
проводиться специально обученным персоналом бассейна или силами
местных дезинфекционных станций, а также отделов профилактической
дезинфекции учреждений санитарно-эпидемиологической службы.
3.9.4. Для бассейнов с
ежедневной полной сменой воды санитарная обработка ванны должна
включать механическую очистку и обработку дезинфицирующим
препаратом.
3.10. Реагенты для
обеззараживания воды плавательных бассейнов и дезинфицирующие
средства для обработки помещений и ванн, разрешенные органами
государственного санитарно-эпидемиологического надзора, указаны в
приложении N 2.
3.11. Требования к
отоплению, вентиляции, микроклимату и воздушной среде
помещений.
3.11.1. Системы
отопления, вентиляции и кондиционирования воздуха должны
обеспечивать параметры микроклимата и воздухообмена помещений
плавательных бассейнов, указанные в таблице N 2.
3.11.2. При температуре
наружного воздуха зимой ниже -20°С в тамбурах основных входов
плавательных бассейнов рекомендуется устраивать воздушно-тепловые
завесы. Воздушно-тепловую завесу допускается заменять тамбуром с
тройными последовательно расположенными дверями.
3.11.3. Концентрация
свободного хлора в воздухе над зеркалом воды допускается не более
0,1 мг/м, озона - не более 0,16 мг/м.
3.11.4. Освещенность
поверхности воды должна быть не менее 100 лк, в бассейнах для
прыжков в воду - 150 лк, для водного поло - 200 лк. Во всех
бассейнах, кроме рабочего освещения, требуется автономное аварийное
освещение, обеспечивающее освещенность поверхности воды не менее 5
лк.
3.11.5. Уровень шума в
залах не должен превышать 60 дбА, а уровень шума при проведении
занятий и во время соревнований допускается до 82 дбА и 110 дбА
соответственно.
3.12. Требования к личной
гигиене посетителей и обслуживающего персонала.
3.12.1. Персонал бассейна
(медработники, тренеры, инструкторы по плаванию) должен проходить
предварительные при поступлении на работу и периодические
медицинские осмотры в соответствии с действующим законодательством
Российской Федерации в порядке, определяемом Министерством
здравоохранения Российской Федерации. Результаты медицинского
освидетельствования фиксируются в медицинских книжках.
Если процедура оплаты на сайте платежной системы не была завершена, денежные
средства с вашего счета списаны НЕ будут и подтверждения оплаты мы не получим.
В этом случае вы можете повторить покупку документа с помощью кнопки справа.
Произошла ошибка
Платеж не был завершен из-за технической ошибки, денежные средства с вашего счета
списаны не были. Попробуйте подождать несколько минут и повторить платеж еще раз.
Добавлен на сайт:
Дата утверждения:
Перед приемом в плавательную группу (секцию) бассейна, в дальнейшем не менее 1 раза в три месяца;
При разовых посещениях - перед каждым посещением, если разрыв между ними более двух месяцев.
Контроль за наличием медицинской справки у посетителей обеспечивает администрация бассейна.
3.12.3. Принятие душа посетителями бассейна с тщательным мытьем является обязательным. Не допускается:
Использовать стеклянную тару во избежание порезов;
Втирать в кожу различные кремы и мази перед пользованием бассейном.
3.12.4. Персонал бассейна должен контролировать соблюдение посетителями правил пользования бассейном, которые согласовываются с центром госсанэпиднадзора и утверждаются администрацией бассейна.
Не допускается вход обслуживающего персонала в душевые, зал бассейна и зал предварительного обучения без специальной обуви.
3.12.5. При наличии необходимых помещений допускается организация проката аксессуаров: одноразовых тапочек и шапочек, а также купальников при условии обеспечения их обеззараживания.
IV. Требования к качеству воды
4.1. Качество пресной воды, поступающей в ванну плавательного бассейна, должно отвечать гигиеническим требованиям, предъявляемым к качеству воды централизованных систем питьевого водоснабжения вне зависимости от принятой системы водообеспечения и характера водообмена.
При дефиците воды питьевого качества и наличии воды, имеющей отклонения от требований "Питьевая вода. Гигиенические требования к качеству воды централизованных систем питьевого водоснабжения. Контроль качества" (зарегистрированы в Министерстве юстиции Российской Федерации 31 октября 2001 г., регистрационный N 3011) только по показателям минерального состава, установленным по влиянию на органолептические свойства воды, допускается ее использование по согласованию с органами государственного санитарно-эпидемиологического надзора, если превышение ПДК не более чем в 2 раза.
4.2. Качество морской воды в местах водозаборов для плавательных бассейнов должно отвечать по физико-химическим и бактериологическим показателям, предъявляемым к прибрежным водам морей в местах водопользования населения.
4.4. В сезонных бассейнах периодического наполнения, при отсутствии водопроводной воды, по согласованию с местными органами госсанэпиднадзора допускается использование воды поверхностных или подземных источников, а также морской воды, отвечающих гигиеническим требованиям к рекреационному водопользованию при условии ежедневной смены воды.
V. Производственный контроль за эксплуатацией плавательных бассейнов
5.1. Организация и проведение производственного контроля за соблюдением требований настоящих Санитарных правил и выполнением санитарно-противоэпидемических (профилактических) мероприятий осуществляются юридическими лицами и индивидуальными предпринимателями, эксплуатирующими плавательные бассейны, в соответствии с "Организация и проведение производственного контроля за соблюдением санитарных правил и выполнением санитарно-противоэпидемических (профилактических) мероприятий" (зарегистрированы в Министерстве юстиции Российской Федерации 30 октября 2001 г., регистрационный N 3000).
5.1.1. Целью производственного контроля является обеспечение безопасности и (или) безвредности для посетителей плавательных бассейнов. Производственный контроль включает:
Наличие у администрации официально изданных санитарных правил и методических указаний, требования которых подлежат выполнению;
Осуществление (организацию) лабораторных исследований;
Организацию медицинских осмотров (личные медицинские книжки), профессиональной гигиенической подготовки и аттестации персонала плавательных бассейнов;
Контроль за наличием сертификатов, санитарно-эпидемиологических заключений и иных документов, подтверждающих безопасность используемых материалов и реагентов, а также эффективность применяемых технологий водообработки;
Своевременное информирование местных органов и учреждений государственной санитарно-эпидемиологической службы об авариях и нарушениях технологических процессов, создающих неблагоприятную санитарно-эпидемиологическую ситуацию для посетителей бассейна;
Визуальный контроль специально уполномоченными должностными лицами за выполнением санитарно-противоэпидемических (профилактических) мероприятий, соблюдением санитарных правил, разработкой и реализацией мер, направленных на устранение выявленных нарушений.
5.2. Для реализации задач, поставленных перед производственным контролем, подготавливается программа (план) производственного контроля за эксплуатацией и качеством воды плавательных бассейнов с конкретизацией положений, изложенных в в том числе с указанием перечней:
Официально изданных санитарных правил, методов и методик контроля;
Должностных лиц, на которых возложены функции по осуществлению производственного контроля;
Должностей сотрудников, подлежащих медицинским осмотрам;
Возможных аварийных ситуаций.
Указанная программа должна включать план лабораторных исследований с указанием точек отбора проб и его периодичности, а также контроль за соблюдением гигиенических требований к режиму эксплуатации плавательных бассейнов, изложенных в настоящих санитарных правил.
5.2.1. Разработанная программа (план) производственного контроля согласовывается с главным врачом (заместителем главного врача) центра госсанэпиднадзора в соответствующей административной территории и утверждается руководителем организации, эксплуатирующей плавательный бассейн.
5.2.2. Юридические лица и индивидуальные предприниматели, эксплуатирующие плавательные бассейны, несут ответственность за своевременность, полноту и достоверность осуществляемого производственного контроля и обязаны представлять информацию о его результатах в центры госсанэпиднадзора по их запросам.
5.3. В процессе эксплуатации плавательного бассейна осуществляется производственный лабораторный контроль за:
Качеством воды (см.
Параметрами микроклимата;
Состоянием воздушной среды в зоне дыхания пловцов;
Уровнями техногенного шума и освещенности.
5.3.1. При отсутствии производственной аналитической лаборатории, аккредитованной в установленном порядке, контроль за качеством воды проводится с привлечением лабораторий, аккредитованных в системе государственного санитарно-эпидемиологического надзора и имеющих лицензию на проведение микробиологических исследований.
5.3.2. Лабораторный контроль за качеством воды в ванне бассейна включает исследования по определению следующих показателей:
а) органолептические (мутность, цветность, запах) - 1 раз в сутки в дневное или вечернее время;
б) остаточное содержание обеззараживающих реагентов (хлор, бром, озон), а также температура воды и воздуха - перед началом работы бассейна и далее каждые 4 часа;
в) основные микробиологические показатели (общие колиформные бактерии, термотолерантные колиформные бактерии, колифаги и золотистый стафилококк) 2 раза в месяц;
Отбор проб воды на анализ производится не менее чем в 2-х точках: поверхностный слой толщиной 0,5 - 1,0 см и на глубине 25 - 30 см от 9 поверхности зеркала воды.
5.3.3. Лабораторный контроль воды по этапам водоподготовки проводится с отбором проб воды:
Поступающей (водопроводной) - в бассейнах рециркуляционного и проточного типов, а также с периодической сменой воды;
До и после фильтров - в бассейнах рециркуляционного типа и с морской водой;
После обеззараживания перед подачей воды в ванну.
5.3.4. Лабораторный контроль за параметрами микроклимата и освещенности проводится в соответствии с требованиями и настоящих санитарных правил и включает проведение исследований со следующей кратностью:
Параметры микроклимата (кроме температуры воздуха в залах ванн) - 2 раза в год;
Освещенность - 1 раз в год.
5.3.5. При наличии жалоб от посетителей на микроклиматические условия проводятся исследования воздушной среды в зоне дыхания пловцов на содержание свободного хлора и озона, а также замеры в залах уровней техногенного шума от эксплуатируемого оборудования на соответствие гигиеническим нормативам и
Смывы берутся с поручней ванны бассейна, скамеек в раздевальнях, пола в душевой, ручек двери из раздевальни в душевую, детских игрушек (мячей, кругов и т.д.), предметов спортивного инвентаря.
При получении неудовлетворительных результатов исследований необходимо проведение генеральной уборки и дезинфекции помещений и инвентаря с последующим повторным взятием смывов на анализ.
5.3.7. Эффективность работы приточно-вытяжной вентиляции подлежит систематическому контролю специализированной организацией (не реже 1 раза в год).
5.3.8. Результаты производственного лабораторного контроля, осуществляемого в процессе эксплуатации плавательных бассейнов, направляются 1 раз в месяц в территориальные центры госсанэпиднадзора. В случаях несоответствия качества воды требованиям, указанным в настоящих санитарных правил, информация должна передаваться немедленно.
5.3.9. Администрация бассейна должна иметь журнал, где фиксируются результаты обследования бассейна госсанэпидслужбой (акты) с выводами и предложениями по устранению выявленных недостатков, а также журнал регистрации результатов производственного лабораторного контроля (при этом в бассейнах рециркуляционного типа, а также с морской водой должна быть указана дата промывки фильтров).
5.4. При подготовке программы производственного контроля следует считать, что потенциально опасным фактором, который может оказывать наиболее неблагоприятное влияние на здоровье посетителей бассейна, является качество воды в ванне (критическая контрольная точка).
5.4.2. При получении неудовлетворительных результатов исследований проб воды, отобранных из ванны бассейна после осуществления мероприятий, указанных в решение вопроса о необходимости полной смены воды в бассейне требует дифференцированного подхода в зависимости от вида и системы водообмена.
Увеличение объема добавляемой свежей воды;
Использование альтернативных методов обеззараживания воды;
Снижение нагрузки (т.е. сокращение количества посетителей);
Введение перерывов между сменами (или увеличение продолжительности при их наличии) для проведения качественной уборки;
Проведение дезинфекционных мероприятий всех помещений и оборудования;
Если проведенные мероприятия как предложенные администрацией бассейна, так и рекомендованные санитарно-эпидемиологической службой, не привели к нормализации качества воды, должна проводиться полная смена воды в ванне бассейна.
5.4.6. Полная смена воды в ванне бассейна должна сопровождаться механической чисткой ванны, удалением донного осадка и дезинфекцией (см. с последующим отбором проб воды на анализ.
5.4.8. Администрация бассейна обязана информировать территориальный центр госсанэпиднадзора о мерах, принятых по устранению выявленных нарушений настоящих Санитарных правил, в том числе о временном прекращении эксплуатации бассейна и полной смене воды в ванне, при этом возобновление эксплуатации бассейна должно осуществляться только при наличии положительного санитарно-эпидемиологического заключения, выданного центром госсанэпиднадзора после получения результатов лабораторных исследований, подтверждающих их соответствие требованиям настоящих Санитарных правил.
5.5. Государственный санитарно-эпидемиологический надзор за устройством, эксплуатацией и качеством воды плавательных бассейнов, а также за организацией и проведением производственного контроля осуществляется центрами госсанэпиднадзора в соответствии с Министерства здравоохранения Российской Федерации от 17.07.2002 N 228 "О порядке проведения мероприятий по контролю при осуществлении государственного санитарно-эпидемиологического надзора" (зарегистрирован в Министерстве юстиции Российской Федерации 3 октября 2002 г., регистрационный N 3831) и Приложением
Таблица N 1. Виды бассейнов и санитарно-гигиенические требования к их устройству
Виды бассейнов (назначение) | Площадь зеркала | Температура воды, град. С | человека в м2, не менее | |
Спортивные | ||||
Оздоровитель- | ||||
Дети старше | ||||
Охлаждающие | до 12 град. С |
Примечания. 1. Глубина бассейнов для детей до 7 лет должна быть не более 0,6 м.
2. Указанное время полного водообмена не относится к бассейнам проточного типа с пресной водой.
3. Температура воды в открытых бассейнах должна поддерживаться летом на уровне 27 град. С, зимой 28 град. С.
Таблица N 2. Гигиенические требования к параметрам микроклимата основных помещений закрытых плавательных бассейнов
Назначение помещения | Температура | Относительная влажность, % | Параметры воздухообмена в 1 час | Скорость движения воздуха, м/сек |
|
Залы ванн бассейнов | На 1 град. выше темпе- ратуры воды | Не менее 80 м3/час на 1 занимающегося и не менее 20 м3/час на 1 | Не более 0,2 |
||
подготовки | Не менее 80 м3/час на 1 занимающегося | Не более 0,5 |
|||
Кратность воздухообмена в 1 час | |||||
Раздеваль- | По балан- том душе- | Не нормируется |
|||
Массажные | |||||
(периоди- действия при отсут- ствии лю- | |||||
Таблица N 3. Показатели и нормативы качества воды в ванне бассейна (в процессе эксплуатации)
Показатели | Нормативы |
|
Физико-химические показатели | ||
Мутность, мг/л | не более 2 |
|
Цветность, градусы | не более 20 |
|
Запах, баллы | не более 3 |
|
Хлориды (при обеззараживании воды гипохлоритом натрия, получаемым электролизом поваренной соли), мг/л | не более 700 |
|
Остаточный свободный хлор (при хлорировании), мг/л | не менее 0,3 - не более 0,5 |
|
Остаточный бром (при бромировании), мг/л | ||
Остаточный озон (при озонировании), мг/л | не более 0,1 (перед поступлением в ванну бассейна) |
|
Хлороформ (при хлорировании), мг/л | не более 0,1 |
|
Формальдегид (при озонировании), мг/л | не более 0,05 |
|
Микробиологические показатели | ||
Основные: | ||
Общие колиформные бактерии в 100 мл | не более 1 |
|
Термотолерантные колиформные бактерии в | отсутствие |
|
Колифаги в 100 мл | отсутствие |
|
Золотистый стафилококк (Staphylococcus aureus) в | отсутствие |
|
Дополнительные: | ||
Возбудители кишечных инфекций | отсутствие |
|
Синегнойная палочка (Pseudomonas aeruginosa) | отсутствие |
|
показатели | ||
Цисты лямблий (Giardia intestinalis) в 50 л | отсутствие |
|
Яйца и личинки гельминтов | отсутствие |
|
2. При совместном применении УФ-излучения и хлорирования или озонирования и хлорирования содержание свободного остаточного хлора должно находиться в пределах 0,1 - 0,3 мг/л.
3. В бассейнах с морской водой хлориды не нормируются.
4. Допускается повышение свободного остаточного хлора в особых случаях по эпидпоказаниям до 0,7 мг/л.
5. Методы определения показателей изложены в соответствующих государственных стандартах и методических указаниях Минздрава России. Для контроля физико-химических показателей допускается использование аналитических экспресс-методов с чувствительностью не ниже указанных нормативных величин.
Приложение N 1
к СанПиН 2.1.2.1188-03
Программное осуществление государственного санитарно-эпидемиологического надзора за эксплуатацией плавательных бассейнов
1. Участие центра госсанэпиднадзора в подготовке программы (плана) производственного контроля включает:
Направление юридическим лицам и индивидуальным предпринимателям информации о действующих санитарных правилах, гигиенических нормативах, методах и методиках контроля, а также перечня химических веществ, биологических и физических факторов, в отношении которых необходимы лабораторные исследования с указанием точек отбора проб и его периодичности;
Согласование программы (плана) производственного контроля.
2. Обследования бассейнов проводятся в плановом порядке и по санитарно-эпидемиологическим показаниям, а также при наличии жалоб посетителей в связи с нарушением санитарно-противоэпидемического режима эксплуатации бассейнов.
2.1. При обследовании бассейна проверяются:
Выполнение мероприятий по устранению ранее выявленных недостатков, зафиксированных в акте, и ведение журнала регистрации результатов производственного лабораторного контроля;
Соблюдение организации движения посетителей в соответствии с настоящих санитарных правил;
Соответствие фактической численности посетителей санитарно-гигиеническим требованиям, указанным в
Медицинские о прохождении предварительных при поступлении на работу и периодических медицинских осмотров;
Наличие правил пользования бассейном для посетителей;
Работа душевых сеток и ножных ванн, а также состояние трапов для отвода стоков в душевых, туалетах, на обходных дорожках;
Полнота наполнения ванны бассейна водой;
Наличие актов обследования эффективности работы системы вентиляции специализированной лабораторией;
Наличие учета промывки фильтров при рециркуляционной системе и в бассейнах с морской водой.
В процессе обследования бассейна проводятся выборочный отбор проб воды и взятие смывов с поверхностей для исследований с учетом анализа результатов производственного лабораторного контроля, представленных центру госсанэпиднадзора
3. При неблагоприятной эпидемической ситуации проводятся исследования воды в ванне плавательных бассейнов на наличие возбудителей кишечных инфекций.
4. При появлении спорадических случаев пневмоний неясной этиологии или возникновении среди посетителей бассейна эпидемических внесезонных вспышек острых респираторных заболеваний проводятся исследования воды на наличие легионелл (Legionella pneumophilia), размножению которых способствует теплая вода и брызги. При дыхании мелкодисперсная аэрозоль, содержащая легионеллы, попадает в легкие, что может вызвать "болезнь легионеров" или понтиакскую лихорадку.
Приложение N 2
к СанПиН 2.1.2.1188-03
Заболевания инфекционной природы, которые могут передаваться через воду плавательных бассейнов
Заболевания | Степень связи с водным фактором |
1. Аденовирусная фаринго-конъюнктивальная лихорадка | |
2. Эпидермофития ("чесотка пловцов") | |
3. Вирусный гепатит А | |
4. Коксаки инфекция | |
5. Дизентерия | |
6. Отиты, синуситы, тонзиллиты, конъюнктивиты | |
7. Туберкулез кожи | |
8. Грибковые заболевания кожи | |
9. Легионеллез | |
10. Энтеробиоз | |
11. Лямблиоз | |
12. Криптоспоридиоз | |
13. Амебный менингоэнцефалит | |
14. Полиомиелит | |
15. Трахома | |
16. Контагиозный Моллюск | |
17. Гоноррейный вульвовагинит | |
18. Аскаридоз | |
19. Трихоцефалез | |
20. Острые сальмонеллезные гастроэнтериты | |
21. Стронгилоидоз | |
Связь с водным фактором: +++ - высокая; ++ - существенная; + - возможная. |
|
Приложение N 3
Газообразный хлор;
Хлорная известь;
Двутретьосновная соль гипохлорита кальция, ДТСГК;
Натриевая соль дихлоризоциануровой кислоты, ДХЦК;
Гипохлорит кальция нейтральный марки А;
Гипохлорит натрия технический марки А;
Гипохлорит лития;
Дихлорантин;
Дибромантин;
- "Акватабс".
2. Для профилактической дезинфекции ванн бассейна после слива воды, а также помещений и инвентаря (водные растворы):
Хлорная известь: осветленная 1% - для ванн и 0,2 - 0,3% - для помещений и инвентаря;
Хлорамин 0,5% - для помещений и инвентаря;
Ниртан 3%;
Гипохлорит натрия технический марки А и Б (0,1 - 0,2%);
Хлордезин 5,0% - для ванн и композиция: хлордезин 0,5% и сульфохлорантин 0,2% - для помещений и инвентаря;
Борная кислота 10% - для ванн;
- "Дезэффект";
- "Ника-экстра М";
- "Септустин";
- "Самаровка";
- "Септодор";
- "Аламинол";
- "Велтолен";
- "Септабик";
- "Бромосепт-50";
- "Полисепт";
- "БИОПАГ-Д";
СанПиН 2.1.2.568-96
САНИТАРНЫЕ ПРАВИЛА И НОРМЫ
2.1.2. Проектирование, строительство и эксплуатация жилых
зданий, предприятий коммунально-бытового обслуживания,
учреждений образования, культуры, отдыха, спорта
ГИГИЕНИЧЕСКИЕ ТРЕБОВАНИЯ К УСТРОЙСТВУ,
ЭКСПЛУАТАЦИИ И КАЧЕСТВУ ВОДЫ ПЛАВАТЕЛЬНЫХ БАССЕЙНОВ
Hygienic requirements for the arrangement, exploitaion and
quality of water of swimming pools
Дата введения - с момента утверждения
1. Общие положения
1.1. Настоящие Правила распространяются на вновь строящиеся, реконструируемые и действующие плавательные бассейны спортивно-оздоровительного назначения вне зависимости от ведомственной принадлежности и форм собственности, в том числе на открытые и на бассейны при школьных и дошкольных учреждениях, при банных комплексах (саунах) и для детей в возрасте до 1 года ("Малютки"), а также на бассейны с морской водой.
Правила не распространяются на лечебные бассейны, где проводятся лечебные процедуры или требуется вода специфического минерального состава, а также на судовые плавательные бассейны.
1.2. Санитарные правила предназначены для организаций, осуществляющих проектирование, строительство, реконструкцию и эксплуатацию плавательных бассейнов, а также для органов и учреждений санитарно-эпидемиологической службы, осуществляющих государственный санитарно-эпидемиологический надзор, и определяют санитарно-гигиенические требования, которыми необходимо руководствоваться при разработке других нормативных документов (СНиП, ГОСТ и др.).
1.4. Используемые реагенты, а также конструкционные материалы, контактирующие с водой, должны относиться к числу или ранее разрешенных органами Государственного санитарно-эпидемиологического надзора* или иметь гигиенические сертификаты, выданные в установленном порядке.
* "Перечень материалов, реагентов и малогабаритных очистных устройств, разрешенных Госкомсанэпиднадзором России для применения в практике хозяйственно-питьевого водоснабжения" N 01-19/32-11 от 23.10.92.
В процессе эксплуатации плавательного бассейна остаточное содержание (концентрация) химических веществ в воде и воздухе (зоне дыхания) не должно превышать гигиенические нормативы.
1.5. Плавательные бассейны, выполненные с отступлением от требований настоящих Правил, подлежат реконструкции. Открытие вновь построенных или реконструированных плавательных бассейнов, а также подвергшихся ремонту, перепланировке или переоборудованию, допускается после получения соответствующего разрешения органов Государственного санитарно-эпидемиологического надзора.
1.6. Ответственность за соблюдение настоящих Правил возлагается на руководителей организаций, эксплуатирующих плавательные бассейны, независимо от их ведомственной принадлежности и форм собственности.
2. Гигиенические требования к проектированию и строительству плавательных бассейнов
2.1. Выбор земельного участка для размещения плавательных бассейнов, привязка типовых проектов, а также индивидуальные проекты строительства и реконструкции бассейнов, подлежат согласованию с органами государственного санитарно-эпидемиологического надзора.
2.2. Плавательные бассейны со вспомогательными помещениями для их обслуживания могут размещаться в отдельно стоящих зданиях, а также быть пристроенными (или встроенными) в здания гражданского назначения, за исключением жилых.
2.3. При устройстве открытых бассейнов площадь отведенного участка должна быть озеленена не менее чем на 35 % кустарником или низкорослыми деревьями. По периметру участка предусматриваются ветро- и пылезащитные полосы древесных и кустарниковых насаждений шириной не менее 5 м со стороны проездов местного значения и не менее 20 м - со стороны магистральных дорог с интенсивным движением.
Удаление ванн открытого бассейна от красной линии принимается не менее 15 метров; от территории больниц, детских школьных и дошкольных учреждений, а также жилых домов и автостоянок - не менее 100 м.
2.4. Виды и размеры бассейнов, соответствующие их назначению, и допустимая нагрузка указаны в табл. 1.
2.5. Внутренняя планировка основных помещений бассейна должна соответствовать гигиеническому принципу поточности: продвижение занимающихся осуществляется по функциональной схеме - гардероб, раздевальня, душевая, ножная ванна, ванна бассейна. При этом должно быть предусмотрено, чтобы занимающийся после посещения других помещений не мог пройти к ванне, минуя душевую. Раздевальня и санузел могут сообщаться с душевой непосредственно через небольшой тамбур или коридор.
2.6. Требования к вспомогательным помещениям.
2.6.1. Площадь вестибюля принимается из расчета 0,5 кв.м на 1 занимающегося в смену, но не менее 20 кв.м.
2.6.2. Гардероб верхней одежды (для занимающихся и зрителей) принимается из расчета 0,1 кв.м на 1 место, но не менее 10 кв.м; число мест должно составлять 300 % пропускной способности в смену.
2.6.3. Раздевальни в бассейнах с числом занимающихся в смену до 40 человек принимаются из расчета от 2,1 кв.м до 2,5 кв.м на 1 место, с числом занимающихся более 40 - от 1,7 кв.м до 2,1 кв.м на 1 место и не менее 2,9 кв.м - для детей до 10 лет. Количество скамеек в раздевальнях должно устанавливаться из расчета 0,6 м длины на 1 человека. Для хранения индивидуальной одежды устраиваются закрытые шкафы: двухъярусные - для взрослых и одноярусные - для детей. Следует предусматривать мойки для ног из расчета 1 мойка на 20 мест.
2.6.4. Санузлы размещаются при раздевальнях; в женских санузлах предусматривается 1 унитаз на 30 человек, в мужских - 1 унитаз и 1 писсуар на 45 человек в смену.
2.6.5. Душевые необходимо предусматривать проходными и располагать на пути движения из раздевальни к обходной дорожке; душевые устраиваются из расчета 1 душевая сетка на 3 человек.
2.6.6. В раздевальнях или смежных с ними помещениях устанавливаются сушки для волос (фены) из расчета 1 прибор на 10 мест - для женщин и 1 прибор на 20 мест - для мужчин в смену.
2.7. На пути движения от душа к ванне бассейна размещаются ножные ванночки с проточной водой, размеры которых должны исключать возможность их обхода (или перепрыгивания): по ширине они занимают весь проход, по направлению движения - не менее 1,8 м; глубина ножных ванночек 0,1 - 0,15 м, уклон пола с нескользкой поверхностью - 0,01-0,02.
2.8. Выплывы при выходе из душевых в ванны открытых бассейнов устраиваются в боковой части продольной стены с мелкой стороны ванны. Ширина выплыва 1,8 - 2,2 м, глубина воды 0,9 - 1,0 м - для взрослых и 0,6 - 0,7 м - для детей. Над выплывом предусматривается затвор, предохраняющий помещения от холодного воздуха. Нижняя кромка затвора должна быть обрамлена эластичными материалами, препятствующими поступлению холодного воздуха, и опускаться в воду на 10-15 см. Выплывы должны быть оборудованы в виде тамбура и защищены от возможного поступления воды из душевых.
2.9. По периметру ванн крытых бассейнов предусматриваются обходные дорожки шириной не менее 1,5 м, а в торцах, где расположены спортивные тумбы, - не менее 3 м. Вдоль обходных дорожек устраиваются стационарные скамьи шириной не менее 0,3 м. Обходные дорожки и скамьи должны обогреваться. Поверхность обходных дорожек должна быть нескользкой и иметь уклон 0,01-0,02 в сторону трапов.
2.10. Размеры ванн спортивных бассейнов, указанных в табл. 1, подлежат строгому соблюдению. Для ванн других бассейнов могут быть допущены отклонения при условии выполнения следующих нормативных требований к площади зеркала воды на 1 человека:
Для взрослых - не менее 5,0 кв.м;
Для детей - не менее 4,0 кв.м;
В охлаждающих бассейнах при банях и саунах - не менее 2,0 кв.м;
Для детей до 1 года (бассейны "Малютка") допускается использование ванн с площадью зеркала воды не менее 1,0 кв.м на 1 ребенка при условии смены воды после каждого сеанса.
Допустимая нагрузка на бассейн в единицу времени, т.е. пропускная способность (человек в смену), должна определяться исходя из этих нормативов.
2.11. Для удаления загрязненного верхнего слоя воды, а также для гашения волн, возникающих при плавании, в стенках ванн должны предусматриваться переливные желоба (пенные корытца) двух типов: с бортом в плоскости воды и обходной дорожки и с бортами, поднимающимися над водой.
2.12. Для покрытия обходных дорожек, стен и дна ванн используются материалы, устойчивые к применяемым для очистки воды реагентам и дезинфектантам и позволяющие проводить качественную механическую чистку и дезинфекцию. Швы между облицовочными плитами тщательно затираются, и цвет отделочного материала должен быть светлых тонов.
2.13. Обходные дорожки в бассейнах "Малютка" необходимо располагать ниже верха стенки ванны на 0,9 - 1,0 м (для того, чтобы поддержка детей на воде осуществлялась родителями с пола).
2.14. В составе помещений плавательного бассейна спортивного и спортивно-оздоровительного назначения предусматривается кабинет врача и помещения лаборатории для проведения санитарно-химических и бактериологических исследований в соответствии с действующими строительными нормами и правилами.
2.15. Плавательные бассейны должны оборудоваться системами, обеспечивающими водообмен в ваннах бассейна.
По характеру водообмена допускаются следующие типы бассейнов:
Бассейны рециркуляционного типа;
Бассейны проточного типа;
Бассейны с периодической сменой воды.
В плавательных бассейнах с морской водой рециркуляционные системы не рекомендуются, наиболее целесообразна проточная система с обязательными очисткой и обеззараживанием поступающей воды.
2.16. Сооружения для очистки, обеззараживания и распределения воды могут располагаться в основном или отдельно стоящем здании. Последовательное включение в единую систему водоподготовки двух или более ванн не допускается.
Озонаторная установка должна быть оснащена дегазатором для удаления озона из озоно-воздушной смеси, а также иметь камеру смешения для контакта воды с озоном.
Над помещениями для приготовления коагулирующих и дезинфицирующих растворов не допускается располагать санитарные узлы и душевые.
2.17. Выбор места водозабора для бассейнов с морской водой должен проводиться с учетом санитарной ситуации и качества воды на участках моря, которые находятся вне влияния источников загрязнения - выпусков ливневых и сточных вод, выносов рек, загрязнений от портов и причалов, пляжей и т.п. При этом оголовок водозабора должен быть на высоте не менее 2 метров от донной поверхности с подачей морской воды из средних слоев.
2.18. Для контроля водообмена ванны должны быть оборудованы расходомерами, показывающими количество воды, подаваемой в ванну, и количество свежей водопроводной воды, поступающей в рециркуляционную систему, а также кранами для отбора проб воды на анализ.
Система подачи воды в ванны должна обеспечивать равномерное распределение ее по всему объему для поддержания постоянства температуры воды и концентрации дезинфектантов.
2.19. Отвод воды из ванн плавательных бассейнов на рециркуляцию может осуществляться как через переливные желоба, так и через отверстия в дне, располагаемые в глубокой и мелкой частях ванн. Расчетную скорость движения воды в отводящих отверстиях, перекрытых решетками, следует принимать 0,4-0,5 м/секунду.
2.20. Удаление загрязненной воды из ванн плавательных бассейнов, а также из переливных желобов, от ножных ванн, с обходных дорожек и от мытья стенок и дна ванн бассейнов может осуществляться в бытовую или ливневую канализации. При отсутствии централизованной системы канализации указанная вода может быть сброшена в водный объект по согласованию с местными органами Государственного санитарно-эпидемиологического надзора с соблюдением требований СанПиН "Правила охраны поверхностных вод от загрязнения".
2.21. Для залов ванн бассейнов, залов для подготовительных занятий, помещений хлораторной и озонаторной необходимо предусматривать самостоятельные системы приточной и вытяжной вентиляции. Пульты для включения систем вентиляции, обслуживающих хлораторную и озонаторную, должны быть вне помещений, где они расположены.
3. Гигиенические требования к режиму эксплуатации плавательных бассейнов
3.1. Для обеспечения соответствующего гигиеническим требованиям качества воды бассейнов необходимо обновление воды в ваннах.
В спортивно-оздоровительных бассейнах водообмен осуществляется за счет рециркуляции, в малых бассейнах (площадь ванны не более 70 кв.м), как правило, - непрерывным протоком воды.
3.2. При водообмене с рециркуляцией воды осуществляется ее очистка, обеззараживание и добавление не менее 10 % свежей водопроводной воды непрерывно в расчете на каждые 8 часов работы бассейна.
3.3. В малых бассейнах (при школьных и дошкольных учреждениях, для детей до 1 года, в оздоровительных учреждениях, банных комплексах, саунах и др.) водообмен допускается осуществлять непрерывным протоком водопроводной воды, при этом время полной смены воды (водообмена) в ваннах для детей должно приниматься не более 8 часов, а в остальных ваннах - не более 12 часов.
3.4. При отсутствии возможности обеспечения непрерывного протока водопроводной воды по согласованию с местными учреждениями Государственного санитарно-эпидемиологического надзора должна проводиться ежедневная полная смена воды в ваннах бассейнов школьных и дошкольных учреждений и после каждого сеанса - в бассейнах "Малютка" (без дополнительного обеззараживания).
3.4.1. В детских летних оздоровительных учреждениях сезонного типа при отсутствии в надлежащем количестве водопроводной воды питьевого качества по согласованию с органами Госсанэпиднадзора допускается устройство бассейнов с периодическим наполнением из поверхностного или подземного источников, а также морской водой, при соблюдении требований, указанных в п.4.4 настоящих Правил.
3.5. Ванна должна наполняться до края переливных желобов, использование ее при неполном заполнении не допускается.
3.6. Ширина дорожки должна приниматься 2,5 м для спортивного плавания и не менее 1,6 м - для оздоровительного, при этом между крайними дорожками и стенками ванны с целью волнопогашения и стока воды к пенным корытцам предусматриваются свободные полосы воды шириной от 0,5 м - в первом случае и до 0,25 м - во втором.
Нагрузка занимающихся на дорожку определяется требованиями к пропускной способности бассейна (человек/смену) и площадью зеркала воды на 1 человека, указанных в табл. 1.
3.7. Для проведения текущей уборки и дезинфекции помещений интервалы между сменами должны быть не менее 15 минут.
3.8. Обеззараживание воды.
3.8.1. Обеззараживание воды, подаваемой в ванны плавательных бассейнов, является обязательным.
3.8.2. Для бассейнов спортивного и спортивно-оздоровительного назначения в качестве основных методов обеззараживания воды могут быть использованы хлорирование, бромирование, озонирование, а также ультрафиолетовое излучение с дозой не менее 16 мДж/кв.см вне зависимости от типа установки.
3.8.3. Для повышения надежности обеззараживания целесообразно комбинирование методов, при этом наибольший эффект обеззараживания достигается при комбинации с хлорированием, обеспечивающим в воде ванны бассейна остаточное содержание хлора, обладающего пролонгирующим действием.
Для бассейнов с непрерывным протоком воды рекомендуется использование физических методов обеззараживания (в частности, ультрафиолетового излучения).
3.8.4. Использование других методов обеззараживания допускается в том случае, если надежность и безопасность их обоснована специальными технологическими и гигиеническими исследованиями.
3.8.5. При хлорировании и бромировании воды концентрированный раствор дезинфектанта добавляют в воду: при проточной системе - в подающий трубопровод, при рециркуляционной - перед фильтрами, а при обеззараживании озоном или УФ-излучением - после фильтров. Рабочая доза обеззараживающего реагента определяется опытным путем из расчета постоянного поддержания остаточной его концентрации в соответствии с табл.3.
3.8.6. В период продолжительного интервала в работе бассейна (более 2 часов) допускается повышенное содержание обеззараживающих веществ в воде ванн до следующих остаточных концентраций: 1,5 мг/л - свободного хлора, 2,0 мг/л - связанного хлора, 2,0 мг/л - брома и 0,5 мг/л - озона. К началу приема занимающихся содержание остаточных количеств указанных реагентов не должно превышать уровней, приведенных в табл. 3.
3.8.7. Реагенты, разрешенные органами Государственного санитарно-эпидемиологического надзора для обеззараживания воды плавательных бассейнов, указаны в приложении 2. Другие обеззараживающие реагенты могут быть использованы после получения положительной гигиенической оценки и соответствующего разрешения (гигиенического сертификата) для применения в питьевом водоснабжении с учетом п.3.8.4 настоящих Правил.
3.9. Требования к уборке и дезинфекции помещений и ванн.
3.9.1. Ежедневная уборка должна проводиться в начале и конце рабочего дня и в перерывах между сеансами. При ежедневной уборке дезинфекции подлежат помещения туалета, душевых, раздевальни, обходные дорожки, скамейки, дверные ручки и поручни. График уборки и дезинфекции утверждается администрацией бассейна.
3.9.2. Генеральная уборка с профилактическим ремонтом и последующей дезинфекцией проводится не реже 1 раза в месяц и включает уборку всех помещений, дезинсекцию и дератизацию.
3.9.3. Санитарная обработка ванны, включающая полный слив воды, механическую чистку и дезинфекцию, проводится в сроки, согласованные с органами Государственного санитарно-эпидемиологического надзора. Для борьбы с обрастанием стенок ванн бассейна (преимущественно открытых) и облечения их чистки может проводиться периодическое добавление в воду ванн раствора медного купороса (сульфата меди) с концентрацией 1,0 - 5,0 мг/л или другими допущенными для этой цели реагентами с учетом п.1.4 настоящих Правил.
3.9.4. Дезинфекция ванны бассейна, проводимая после слива воды и механической чистки, осуществляется методом двукратного орошения с расходом дезинфектанта 0,6-0,8 л/кв.м и концентрацией раствора 100 мг/л активного хлора. Смыв дезинфицирующего раствора производится горячей водой не ранее чем через 1 час после его нанесения.
При обнаружении в воде ванны бассейна синегнойной палочки ванна обрабатывается 10 %-ным раствором борной кислоты с экспозицией 2 часа.
Дезинфекция ванн может проводиться специально обученным персоналом бассейна или силами местных дезинфекционных станций, а также отделов профилактической дезинфекции учреждений санитарно-эпидемиологической службы (по договорам).
3.9.5. В качестве дезинфекционных средств для обработки помещений могут быть использованы препараты, имеющие гигиенические сертификаты, а также ранее разрешенные Минздравом СССР и указанные в приложении 2.
3.10. Требования к отоплению, вентиляции, микроклимату и воздушной среде помещений.
3.10.1. Системы отопления, вентиляции и кондиционирования воздуха должны обеспечивать параметры микроклимата и воздушной среды помещений плавательных бассейнов, указанных в табл. 2.
3.10.2. Во избежание образования холодных потоков воздуха от окон приборы отопления следует располагать под ними и у наружных стен. Приборы и трубопроводы отопления, расположенные в залах подготовительных занятий на высоте до 2,0 м от пола, должны быть защищены решетками или панелями, не выступающими из плоскости стен и допускающими уборку их влажным способом.
3.10.3. При температуре наружного воздуха зимой ниже -20 °С в тамбурах основных входов плавательных бассейнов рекомендуется устраивать воздушно-тепловые завесы. Воздушно-тепловую завесу допускается заменять тамбуром с тройными последовательно расположенными дверями.
3.10.4. Концентрация свободного хлора в воздухе в зоне дыхания пловцов допускается не более 0,1 мг/куб.м, озона - не более 0,16 мг/куб.м.
3.10.5. Эффективность работы приточно-вытяжной вентиляции подлежит систематическому контролю специализированной организацией (не реже 1 раза в год).
3.10.6. Наименьшая освещенность поверхности воды допускается 100 лк, в бассейнах для прыжков в воду - 150 лк, для водного поло - 200 лк. Во всех бассейнах, кроме рабочего освещения, требуется автономное аварийное освещение, обеспечивающее освещенность поверхности воды не менее 5 лк.
3.10.7. Уровень шума в залах не должен превышать 60 дбА, а уровень шума при проведении занятий и во время соревнований допускается до 82 дбА и 110 дбА соответственно.
3.11. Требования к личной гигиене занимающихся и обслуживающего персонала.
3.11.1. Персонал бассейна (медработники, тренеры, инструкторы по плаванию) должен проходить предварительные при поступлении на работу и периодические медицинские осмотры в соответствии с действующим законодательством Российской Федерации в порядке, установленном Минздравом России. Результаты медицинского освидетельствования фиксируются в медицинских книжках, которые должны быть предоставлены в распоряжение администрации бассейна.
3.11.2. К занятиям в бассейне допускаются только лица, прошедшие медицинское освидетельствование, которое проводится участковым врачом поликлиники по месту жительства. Срок действия разрешения не более 1 года. Допускается одноразовое посещение бассейна после обязательного телесного осмотра врачом бассейна.
3.11.3. Вход в зал бассейна разрешается посетителям, которые прошли душевую.
Запрещается:
Использовать жидкое мыло в стеклянной таре во избежание порезов;
Втирать в кожу различные кремы и мази перед пользованием бассейном;
Вносить в зал бассейна полотенце, мыло и мочалки.
3.11.4. Персонал бассейна должен контролировать соблюдение посетителями Правил пользования бассейном, согласованных с органами Государственного санитарно-эпидемиологического надзора и утвержденных администрацией бассейна.
Запрещается вход обслуживающего персонала в душевые, зал бассейна и зал предварительного обучения без специальной обуви.
4. Требования к качеству воды
4.1. Качество пресной воды, поступающей в ванну бассейна, должно отвечать гигиеническим требованиям к качеству воды централизованных систем питьевого водоснабжения вне зависимости от принятой системы водообеспечения и характера водообмена.
Примечание.
При дефиците воды питьевого качества и наличии воды, имеющей отклонения от требований СанПиН 2.1.4.559-96 "Питьевая вода. Гигиенические требования к качеству воды централизованных систем питьевого водоснабжения. Контроль качества" только по показателям минерального состава, установленным по влиянию на органолептические свойства воды, допускается ее использование по согласованию с органами Государственного санитарно-эпидемиологического надзора.
4.2. Качество морской воды в местах водозаборов для плавательных бассейнов должно отвечать по физико-химическим и бактериологическим показателям гигиеническим требованиям, предъявляемым СанПиН "Охрана прибрежных вод морей от загрязнения в местах водопользования населения" к воде в районах водопользования.
4.3. В процессе эксплуатации бассейна как с пресной водой, так и с морской, вода, находящаяся в ванне, должна соответствовать требованиям, указанным в табл. 3.
4.4. В сезонных бассейнах периодического наполнения при отсутствии водопроводной воды по согласованию с местными органами Государственного санитарно-эпидемиологического надзора допускается вода поверхностных или подземных источников, которая отвечает требованиям СанПиН "Охрана поверхностных вод от загрязнения", а также морская вода, отвечающая требованиям СанПиН "Охрана прибрежных вод морей от загрязнения в местах водопользования населения", при условии ежедневной смены воды.
5. Производственный контроль в процессе эксплуатации плавательных бассейнов
5.1. Производственный лабораторный контроль за качеством воды плавательных бассейнов проводится в соответствии с п.4.3 настоящих Правил и включает определение нижеуказанных показателей со следующей кратностью отбора проб:
Основные микробиологические показатели (колиформные бактерии, термотолерантные колиформные бактерии, колифаги и лецитиназоположительные стафилококки), а также содержание азота аммиака, хлоридов и остаточное содержание реагентов, применяемых для улучшения качества воды бассейна, -1 раз в 10 дней;
Органолептические показатели (мутность, цветность, запах) - 1 раз в сутки в дневное или вечернее время;
Остаточное содержание обеззараживающих реагентов (хлор, бром, озон), а также температура воды и воздуха - перед началом работы бассейна и далее 1 раз в 2 часа.
По согласованию с органами Государственного санитарно-эпидемиологического надзора в каждом конкретном случае, кратность отбора проб воды и перечень показателей могут быть изменены в зависимости от вида (назначения) бассейна и условий его эксплуатации.
5.2. Отбор проб воды на анализ производится не менее чем в 2 точках в мелкой и глубокой частях ванны бассейна на глубине 25-30 см от поверхности зеркала воды.
5.3. При отсутствии производственной аналитической лаборатории при бассейне контроль за качеством воды может проводиться на договорных началах в лабораториях, аккредитованных и аттестованных в системе Государственного санитарно-эпидемиологического надзора.
6. Государственный санитарно-эпидемиологический надзор за эксплуатацией плавательных бассейнов
6.1. Обследование бассейна в порядке государственного санитарно-эпидемиологического надзора проводится не реже 1 раза в месяц (вне зависимости от времени проведения генеральной уборки) с использованием инструментально-лабораторных методов исследования со взятием смывов с поверхностей и отбором проб воды для санитарно-бактериологического анализа.
При стабильных результатах производственного лабораторного контроля, отвечающих требованиям настоящих Правил, а также выборочного лабораторного контроля, проводимого органами Государственного санитарно-эпидемиологического надзора, обследование бассейна может проводиться 1 раз в квартал.
6.2. Смывы с поверхностей для проведения бактериологического анализа на присутствие колиформных бактерий берутся с поручней ванны бассейна, скамеек в раздевальнях, пола в душевой, ручек двери из раздевальни в душевую.
При получении неудовлетворительных результатов исследований необходимо проведение генеральной уборки и дезинфекции помещений и инвентаря с последующим повторным взятием смывов на анализ.
6.3. При обследовании бассейна проверяется:
Соответствие фактической численности посетителей нормам нагрузки (табл. 1);
Соблюдение правил личной гигиены;
Медицинские книжки о прохождении предварительных при поступлении на работу и периодических медицинских осмотров;
Наличие "Правил пользования бассейном" для посетителей;
Соблюдение принципа поточности посетителей;
Работу душевых сеток и ножных ванн, а также состояние трапов для отвода стоков в душевых, туалетах, на обходных дорожках;
Параметры микроклимата (температура, влажность, скорость движения воздуха) - табл. 2;
Наличие актов обследования эффективности работы системы вентиляции специализированной лабораторией;
Состояние водоочистных сооружений при рециркуляционной системе и наличие учета промывки фильтров в специальном журнале;
Полнота наполнения ванны бассейна водой;
Результаты производственного лабораторного контроля за качеством воды в ваннах, завизированные медицинским персоналом плавательного бассейна.
6.4. Лабораторный контроль за качеством поступающей воды и воды в ванне бассейна в процессе эксплуатации должен проводиться в соответствии с п.п.4.1, 4.2, 4.3 и 4.4 настоящих Правил не реже 1 раза в месяц.
Отбор проб воды на исследования производится из ванны бассейна в точках, указанных в п. 5.2 настоящих Правил, а также отбираются пробы воды, поступающей:
На фильтры и после фильтров - при рециркуляционной системе;
В ванны - при проточной системе или периодической смене воды;
На очистные сооружения - в бассейнах с морской водой.
6.5. Учитывая, что при хлорировании воды возможно образование галогенорганических (галоформных) соединений, а при озонировании - карбонильных соединений (альдегидов), следует не реже 1 раза в месяц контролировать уровни хлороформа (при хлорировании) или формальдегида (при озонировании), которые служат в качестве индикаторов. В зависимости от качества воды источника водоснабжения (поверхностные или подземные воды), а также результатов контроля за содержанием указанных соединений в ванне бассейна в течение не менее 2 лет, частота исследований может быть снижена.
В случае постоянного обнаружения указанных соединений на уровнях выше ПДК следует использовать альтернативные методы обеззараживания воды (ультрафиолетовое облучение или другие физические методы).
6.8. Открытие бассейна осуществляется по согласованию с органами Государственного санитарно-эпидемиологического надзора после получения результатов лабораторных исследований, подтверждающих соответствие их требованиям настоящих Правил.
С введением в действие настоящих Санитарных правил и норм утрачивают силу:
Инструктивно-методические указания по устройству, эксплуатации и санитарному контролю плавательных бассейнов с морской водой N 1437-76 от 5 июля 1976 г.;
Методические указания по проведению профилактической дезинфекции в спортивных плавательных бассейнах N 28-2/6 от 31.03.80;
П.п.55-71 и п.п. 87-91 Санитарных правил устройства и содержания мест занятий по физической культуре и спорту N 1567-76.
Таблица 1
Размеры и пропускная способность бассейнов различных видов
Виды бассейнов (назначение) |
Размеры ванны бассейна |
Пропускная способность (человек в смену) |
Площадь зеркала воды на 1 человека в м |
|||||
Ширина (м) |
Глубина (м) |
|||||||
в мелкой части |
в глубокой части |
|||||||
Спортивные |
Уклон дна не менее* |
|||||||
|
|
||||||||
|
|
||||||||
Оздоровительные |
|
|||||||
|
|
||||||||
|
|
||||||||
дети старше 14 лет |
|
|||||||
дети 10-14 лет |
|
|||||||
дети 7-10 лет |
|
|||||||
дети 4-7 лет |
|
|||||||
дети 1-4 лет |
|
|||||||
дети до 1 года (бассейн "Малютка") |
||||||||
Охлаждающие: |
||||||||
при банях площадь 20-40 кв.м |
||||||||
при саунах площадь 10 кв.м и более |
||||||||
* Глубина принимается в зависимости от спортивного назначения бассейна (прыжки в воду, водное поло, спортивное плавание). |
||||||||
Таблица 2
Гигиенические требования к параметрам микроклимата основных помещений закрытых плавательных бассейнов
Назначение помещения |
Температура воды, °С |
Температура воздуха, °С |
Относительная влажность, % |
Параметры воздухообмена в 1 час |
Скорость движения воздуха, м/сек |
|
Ванны для взрослых |
||||||
Ванны для детей |
||||||
Залы ванн бассейнов |
На 1-2 выше темпе- ратуры воды |
Не более 60 % |
Не менее 80 м/час на 1 занимающегося и не менее 20 м/час на 1 зрителя |
Не более 0,5 |
||
Залы подготовки занятий |
Не нормируется |
Не менее 80 м/час на 1 занимающегося |
Не более 0,2 |
|||
Кратность воздухообмена в 1 час |
||||||
Раздевальни |
По балансу с учетом душевых |
(из душевых) |
Не норми- руется |
|||
Массажные |
||||||
Камера сауны |
не более 120 |
(периоди- ческого действия при отсутствии людей) |
||||
Лаборатория для анализов воды |
||||||
Примечание: температура воды в открытых бассейнах должна поддерживаться летом на уровне 27 °С, зимой - 28 °С, для обучающихся плавать - 29 °С. |
||||||
Таблица 3
Показатели и нормативы качества воды в ванне бассейна
Показатели |
Нормативы |
Физико-химические показатели |
|
Мутность в мг/л, не более |
|
Цветность в градусах, не более |
|
Запах в баллах, не более |
|
Азот аммиака в мг/л |
допускается увеличение не более чем в 2 раза по сравнению с исходным содержанием |
Хлориды в мг/л |
допускается увеличение не более чем на 200 мг/л по сравнению с исходным содержанием |
Остаточный хлор: свободный в мг/л |
не менее 0,5 |
Остаточный бром в мг/л |
|
Остаточный озон в мг/л |
не менее 0,1 |
Основные микробиологические показатели |
|
Колиформные бактерии в 100 мл |
не должны обнаруживаться |
Термотолерантные колиформные бактерии в 100 мл |
не должны обнаруживаться |
Колифаги в 100 мл, не более |
|
Лецитиназоположительные стафилококки в 100 мл |
не должны обнаруживаться |
|
|
|
Возбудители инфекционных заболеваний в 1000 мл |
не должны обнаруживаться |
Синегнойные палочки в 1000 мл |
не должны обнаруживаться |
Цисты лямблий в 50 л |
не должны обнаруживаться |
Яйца и личинки гельминтов в 50 л |
не должны обнаруживаться |
Примечания.
1. Допускается содержание свободного остаточного хлора менее 0,3 мг/л при концентрации общего остаточного хлора на уровне 0,8-1,2 мг/л.
2. В ванне бассейна для детей 1-6 лет содержание свободного остаточного хлора допускается на уровне 0,1-0,3 мг/л, при условии что колифаги в 100 мл воды не должны обнаруживаться.
3. При последовательном обеззараживании воды хлором (ночью) и озоном (днем) остаточное содержание хлора должно быть не менее 0,4 мг/л и озона - не менее 0,1 мг/л.
4. При совместном применении УФ-излучения и хлорирования содержание общего остаточного хлора может быть снижено до 0,3 мг/л.
5. При обеззараживании воды гипохлоритом натрия, получаемым электролизом поваренной соли, допускается увеличение концентрации хлоридов до 700 мг/л.
6. В бассейнах с морской водой не нормируется азот аммиака и хлориды.
Приложение 1
(справочное)
Заболевания инфекционной природы, передаваемые через воду плавательных бассейнов
Заболевание |
Степень связи с водным фактором* |
1. Аденовирусная фаринго-конъюнктивальная лихорадка |
|
2. Эпидермофития ("чесотка пловцов") |
|
3. Коксаки инфекция |
|
4. Дизентерия |
|
5. Отиты, синуситы, тонзиллиты, конъюнктивиты |
|
6. Туберкулез кожи |
|
7. Грибковые заболевания кожи |
|
8. Легионеллез |
|
9. Амебный менингоэнцефалит |
|
10. Полиомиелит |
|
11. Трахома |
|
12. Контагиозный Моллюск |
|
13. Гоноррейный вульвовагинит |
|
14. Аскаридоз |
|
15. Трихоцефалез |
|
16. Энтеробиоз |
|
17. Острые сальмонеллезные гастроэнтериты |
|
* Связь с водным фактором: +++ - высокая; ++ - существенная; + - возможная. |
|
Обеззараживающие средства и дезинфицирующие препараты
1. Для обеззараживания воды плавательных бассейнов:
Газообразный хлор;
Хлорная известь (ГОСТ 1692-58 ТУ);
Двутретьосновная соль гипохлорита кальция, ДТСГК (ГОСТ 13-392-73-ТУ);
Натриевая соль дихлоризоциануровой кислоты, ДХЦК (ТУ 6-02-860-74);
Гипохлорит кальция нейтральный марки А (ГОСТ 25263-82 и ГОСТ 25263-89 ВД);
Гииохлорит натрия технический марки А (ГОСТ 22086-76, ТУ 6-01-1287-84 с Изменением N 1);
Гипохлорит лития (ТУ 6-01-896-74);
Дихлорантин (ТУ 6-01-672-79 с Изменениями N 1 и N 2);
Дибромантин (ТУ 6-01-827-73).
2. Для профилактической дезинфекции помещений и инвентаря (водные растворы):
Хлорная известь (0,2-0,3 %);
Хлорамин (0,5 %);
Ниртан (3,0 %);
Гипохлорит натрия технический марки А и Б (0,1-0,2 %);
Композиция: хлордезин (0,5 %) и сульфохлорантин (0,2 %).
3. Для дезинфекции ванн бассейна после слива воды (водные растворы):
Хлорная известь (осветленная 1 %);
Хлордезин (5,0 %);
Ниртан (3,0 %).
Список использованной литературы
1. Строительные нормы и правила (СНиП) 2.08.02-89 "Общественные здания и сооружения" (Госстрой СССР, М.: Стройиздат, 1990).
2. Справочное пособие к СНиП 2.08.02-89 "Проектирование бассейнов" (М.: Стройиздат, 1991).
3. СНиП 2.04.02-84 "Водоснабжение. Наружные сети и сооружения" (Госстрой СССР, М.: Стройиздат, 1985).
4. СанПиН N 4630-88 "Правила охраны поверхностных вод от загрязнения".
5. Перечень материалов, реагентов и малогабаритных очистных устройств, разрешенных Госкомсанэпиднадзором России для применения в практике хозяйственно-питьевого водоснабжения N 01-19/32-11 от 23.10.92.
6. ГОСТ 2874-82 "Вода питьевая. Гигиенические требования и контроль за качеством".
7. Технические записки по проблемам воды "ДЕГРЕМОН" (Франция, 1983).
9. Методические указания по применению дибромантина для обеззараживания воды плавательных бассейнов N 1938- 78.
10. Методические указания по применению дихлорантина для обеззараживания воды плавательных бассейнов N 28- 6/17 от 02.06.87.
11. Методические указания по обеззараживанию воды в плавательных бассейнах хлорированием в присутствии 5,5- диметилгидантоина N 15-6/3 от 25.12.88.
12. Методические указания по проведению профилактической дезинфекции в спортивных плавательных бассейнах N 28-2/6 от 31.03.80.
13. Санитарные правила устройства и содержания мест занятий по физической культуре и спорту N 1567-76.
14. Приказ Минздрава СССР N 555 от 29.09.89 "О совершенствовании системы медицинских осмотров трудящихся и водителей индивидуальных транспортных средств".
15. "О совершенствовании санитарного надзора за плавательными бассейнами" (Д.И.Головань, Г.В.Толстопятова, Л.И.Сухненко), "Гигиена и санитария", N 8, 1989.
16. Инструктивно-методические указания по устройству, эксплуатации и санитарному контролю плавательных бассейнов с морской водой N 1437-76 от 5 июля 1976 г.
17. Приказ Минздрава СССР N 1089 от 13.08.86 "Об усилении борьбы с гельминтозами в стране".
18. СанПиН N 2.1.4.559-96 "Питьевая вода. Гигиенические требования к качеству воды централизованных систем питьевого водоснабжения. Контроль качества".

